logo

Crowdly

Browser

Add to Chrome

Нарисна геометрія, інженерна та комп'ютерна графіка. Модуль 1. Нарисна геометрія (185)

Looking for Нарисна геометрія, інженерна та комп'ютерна графіка. Модуль 1. Нарисна геометрія (185) test answers and solutions? Browse our comprehensive collection of verified answers for Нарисна геометрія, інженерна та комп'ютерна графіка. Модуль 1. Нарисна геометрія (185) at dist.nupp.edu.ua.

Get instant access to accurate answers and detailed explanations for your course questions. Our community-driven platform helps students succeed!

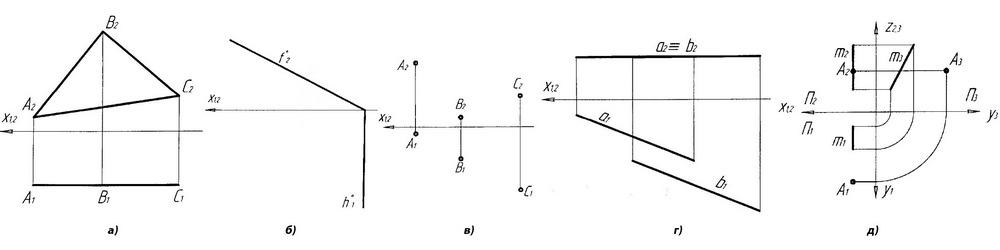
Яка сторона трикутника є горизонталь площини?
0%
0%
0%
View this question
На рисунку червоною лінією показано побудови:
View this question
Скільки граней має піраміда?
0%
0%
0%
0%
View this question
Яка сторона трикутника є фронталь площини?
View this question
Площиною загального положення називається площина, яка ...
0%
0%
0%
0%
0%
View this question
Горизонтальна проекція фронтального сліду площини позначається:
0%
0%
50%
View this question
Яка грань піраміди займає профільне положення?
View this question

На якому рисунку наведено приклад площини горизонтального положення?

0%
0%
0%
0%
0%
View this question
На рисунку червоною лінією показано побудови:
0%
50%
View this question

На якому рисунку наведено приклад площини загального положення?

0%
0%
0%
0%
View this question

Want instant access to all verified answers on dist.nupp.edu.ua?

Get Unlimited Answers To Exam Questions - Install Crowdly Extension Now!

Browser

Add to Chrome