logo

Crowdly

Browser

Add to Chrome

2024/2025-2-денна/заочна-Сучасне обладнання з технічного утримання вагонів-Равлюк В. Г.

Looking for 2024/2025-2-денна/заочна-Сучасне обладнання з технічного утримання вагонів-Равлюк В. Г. test answers and solutions? Browse our comprehensive collection of verified answers for 2024/2025-2-денна/заочна-Сучасне обладнання з технічного утримання вагонів-Равлюк В. Г. at do.kart.edu.ua.

Get instant access to accurate answers and detailed explanations for your course questions. Our community-driven platform helps students succeed!

Який підйомний механізм зображений на рисунку?

0%
0%
0%
100%
View this question
Який підйомний механізм зображений на рисунку?

0%
0%
0%
100%
View this question
До якої групи засобів відносяться автокари?
0%
0%
0%
100%
View this question
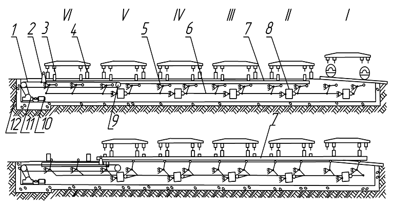
Який конвеєр зображений на рисунку?

0%
0%
0%
0%
0%
View this question
Який пристрій цехів, дільниць, відділень вагоноремонтних підприємств відноситься до транспортних засобів?
0%
0%
0%
100%
View this question
Який транспортний засіб зображений на рисунку?

0%
0%
0%
0%
View this question
Переміщує деталі з позиції на позицію і передає рух вантажеві, що транспортується це:
0%
0%
0%
0%
View this question
Скільки пар гідравлічних домкратів застосовується у стенді для виправлення рам вантажних вагонів?
100%
0%
0%
0%
View this question
Яка вантажопідйомність гідравлічного домкрата, що застосовується у стенді для виправлення рам вантажних вагонів?
0%
0%
0%
0%
View this question
Які ремонтні операції можуть виконуватися за допомогою машин для ремонту контейнерів?
0%
0%
0%
0%
View this question

Want instant access to all verified answers on do.kart.edu.ua?

Get Unlimited Answers To Exam Questions - Install Crowdly Extension Now!

Browser

Add to Chrome