logo

Crowdly

Browser

Add to Chrome

2024/2025-2-денна/заочна-Сучасне обладнання з технічного утримання вагонів-Равлюк В. Г.

Looking for 2024/2025-2-денна/заочна-Сучасне обладнання з технічного утримання вагонів-Равлюк В. Г. test answers and solutions? Browse our comprehensive collection of verified answers for 2024/2025-2-денна/заочна-Сучасне обладнання з технічного утримання вагонів-Равлюк В. Г. at do.kart.edu.ua.

Get instant access to accurate answers and detailed explanations for your course questions. Our community-driven platform helps students succeed!

Які існують машини для сухого очищення за принципом організації?
0%
0%
0%
0%
View this question
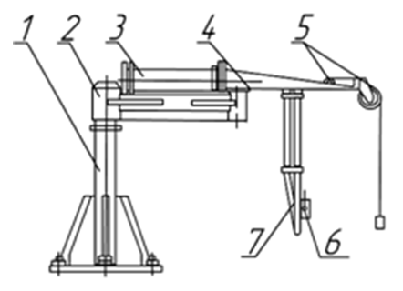
Який підйомно-транспортний механізм зображений на рисунку?

0%
0%
100%
0%
View this question
До якої групи засобів відносяться консольно-поворотний кран?
0%
100%
0%
0%
View this question
Який підйомно-транспортний механізм зображений на рисунку?

0%
100%
0%
0%
View this question
Якою вантажопідйомністю повинні бути мостові однобалкові крани (кран-балки), якими обладнують контрольні пункти автозчепу?
0%
0%
0%
100%
View this question
До якої групи засобів відносяться електрична таль (тельфер)?
0%
100%
0%
0%
View this question
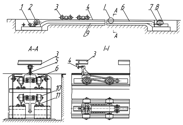
Який конвеєр зображений на рисунку?

0%
0%
0%
100%
View this question
Який конвеєр зображений на рисунку?

0%
100%
0%
0%
View this question
До якої групи засобів відносяться вантажоведучі конвеєри?
0%
0%
0%
100%
View this question
До якої групи засобів відносяться крокові конвеєри?
0%
0%
0%
0%
View this question

Want instant access to all verified answers on do.kart.edu.ua?

Get Unlimited Answers To Exam Questions - Install Crowdly Extension Now!

Browser

Add to Chrome