logo

Crowdly

Browser

Add to Chrome

25/26-1-д-Автоматизовані системи диспетчерського контролю рухомого складу-Ушаков М.В.

Looking for 25/26-1-д-Автоматизовані системи диспетчерського контролю рухомого складу-Ушаков М.В. test answers and solutions? Browse our comprehensive collection of verified answers for 25/26-1-д-Автоматизовані системи диспетчерського контролю рухомого складу-Ушаков М.В. at do.kart.edu.ua.

Get instant access to accurate answers and detailed explanations for your course questions. Our community-driven platform helps students succeed!

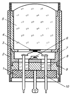
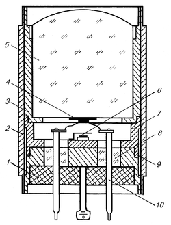
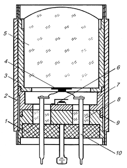
Де на ескізі болометра розташована лінза?
0%
0%
0%
0%
0%
0%
0%
0%
0%
0%
View this question

Де на ескізі болометра розташований компенсаційний терморезисторний елемент?
View this question

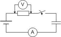
В якої відповіді вірно наведені діаграми зміни струму та напруги після замикання ключа ?
0%
0%
0%
0%
0%
View this question
 Знайти падіння напруги на резисторі R=478 Ом, якщо струм дорівнює 10,7 ампер.
View this question
Обчисліть опір електричного кола

(У полі відповіді введіть тільки число без зазначення одиниць виміру)
View this question
На якій відстані від точки підключення апаратури живильного та релейного кінців рейкове коло накладання зафіксує заняття та звільнення зони контролю?

0%
0%
0%
0%
0%
0%
View this question

Де на ескізі напільної камери розташований тіньовий щиток?
0%
0%
0%
0%
0%
0%
0%
0%
0%
0%
View this question

Де на ескізі болометра розташована лінза?
0%
0%
0%
0%
0%
0%
0%
0%
0%
0%
View this question

Де на ескізі болометра розташований основний терморезисторний елемент?
View this question

Де на ескізі болометра розташований компенсаційний терморезисторний елемент?
0%
0%
0%
0%
0%
0%
0%
0%
0%
0%
View this question

Want instant access to all verified answers on do.kart.edu.ua?

Get Unlimited Answers To Exam Questions - Install Crowdly Extension Now!

Browser

Add to Chrome