logo

Crowdly

Browser

Add to Chrome

Solidworks Certificate Test Preparation

Looking for Solidworks Certificate Test Preparation test answers and solutions? Browse our comprehensive collection of verified answers for Solidworks Certificate Test Preparation at elearning.aua.am.

Get instant access to accurate answers and detailed explanations for your course questions. Our community-driven platform helps students succeed!

The model in the left image has a rectangular cut-out. To create the cut, you need to use the dimensions shown in the image. Based on the dimensions given and the design intent of the part, which of the following methods should you use to create the cut-out? Pick the best answer.

View this question

You need to model a key-hole slot, as shown in the image. How should you model the part if you want to make sure the hole always goes through the entire thickness of the part, no matter what the thickness value is?

0%
0%
0%
0%
View this question

You need to model a part that has 6 holes, as shown in the image on the left. You also know that you are going to update the part to have multiple holes, as shown on the image on the right. How can you create the holes if you want to make sure you can update the holes quickly, regardless the number of holes?

0%
0%
0%
0%
View this question

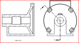
You are building an assembly with two components: a red block and a gray pivot. However, when you add a coincident mate between one of the faces of the red block and one of the faces of the gray pivot component, you end up with the assembly shown in the left image. How can you best edit the assembly if you want it to look like the image on the right?

View this question

Before you begin modeling, you should first set up your model by:

View this question

To create the model shown in the image, you need to extrude a square sketch a depth of 2 inches. If you want the isometric view of your model to match the image on the right, what plane should you start the sketch on?

0%
0%
0%
0%
View this question

What mates should you add between the components in the assembly so that the pin sits within the slot and is flush with the top face of the block?

 

View this question

The part on the left has its default reference planes going through the middle of the part. However, when it was dropped into the assembly, it's planes didn't line up with the planes of the assembly, as shown in the image. How can you best edit the position of the part so that its planes line up with the planes of the assembly? 

View this question

What type of view was used to create the drawing view shown in the image?

View this question

How many holes of diameter 9 mm does the part in the drawing view have?Holes

View this question

Want instant access to all verified answers on elearning.aua.am?

Get Unlimited Answers To Exam Questions - Install Crowdly Extension Now!

Browser

Add to Chrome