logo

Crowdly

Browser

Add to Chrome

Вимірювання в гідроенергетиці

Looking for Вимірювання в гідроенергетиці test answers and solutions? Browse our comprehensive collection of verified answers for Вимірювання в гідроенергетиці at exam.nuwm.edu.ua.

Get instant access to accurate answers and detailed explanations for your course questions. Our community-driven platform helps students succeed!

Визначити зміну коливання рівня води у водосховищі, якщо датчик тиску зафіксув значення Р1 = 4,0 кПа, а через деякий час Р2 = 3,5 кПа.

0%
0%
0%
0%
View this question

Який з перерахованих методів вимірювання швидкостей є одним з найпоширеніших?

0%
0%
0%
0%
View this question

Як оцінюється технічний стан обладнання ГЕС?

View this question

Як називається технічний стан обладнання ГЕС, якщо його контрольовані параметри, що характеризують здатність обладнання виконувати задані функції, відповідають вимогам нормативної і (або) конструкторської документації, і при контролі технічного стану дефекти не виявлені або виявлені незначні, що легко можна усунути на ранній стадії розвитку?

0%
0%
0%
0%
0%
View this question

Назвіть типи поверхневих щілемірів.

View this question

Що влаштовують у вихідних отворах п’єзометрів?

0%
0%
0%
0%
0%
View this question

Який прилад зображений на фото?

View this question

Хто здійснює постійний контроль за показниками роботи ГЕС?

0%
0%
0%
0%
View this question

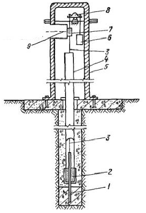
Під яким номером на схемі зображений шток?

0%
0%
0%
0%
0%
View this question

Назвіть причину нагрівання системи охолодження.

0%
0%
0%
0%
0%
View this question

Want instant access to all verified answers on exam.nuwm.edu.ua?

Get Unlimited Answers To Exam Questions - Install Crowdly Extension Now!

Browser

Add to Chrome