logo

Crowdly

Browser

Add to Chrome

Теоретична механіка

Looking for Теоретична механіка test answers and solutions? Browse our comprehensive collection of verified answers for Теоретична механіка at exam.nuwm.edu.ua.

Get instant access to accurate answers and detailed explanations for your course questions. Our community-driven platform helps students succeed!

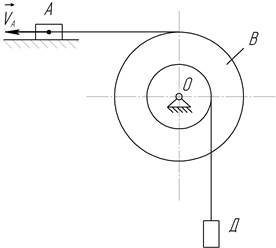
Визначити проекцію кількості руху механічної системи на вісь Y, якщо призма А рухається з швидкістю 2 м/с, вантаж В рухається з відносною швидкістю м/с, 20 кг, 10 кг, .

View this question

Визначити проекцію кількості руху механічної системи на вісь Х, якщо призма А рухається з швидкістю 2 м/с, вантаж В рухається з відносною швидкістю 4 м/с, 20 кг, 10 кг, .

View this question

Якою є робота реакцій ідеальних в’язей на можливих переміщеннях системи?

View this question

Запишіть вираз принципу д’Аламбера для невільної матеріальної точки у векторній формі

0%
0%
0%
0%
0%
View this question

Як знаходиться модуль кількості руху, якщо відомі його проекції на осі координат?

View this question

Визначити проекцію кількості руху механічної системи на вісь Х, якщо призма А рухається з швидкістю 5 м/с, вантаж В рухається з відносною швидкістю 20 м/с, 40 кг, 8 кг.

View this question

Визначити кінетичну енергію механічної системи , якщо вантаж А рухається з швидкістю 4 м/с, 10 кг, 16 кг, 5 кг, 2, 0,75,

View this question

Напишіть диференціальні рівняння руху матеріальної точки в проекціях на осі натуральної системи координат

0%
0%
0%
0%
View this question

Як визначають роботу пари з моментом М на можливому переміщенні тіла прикладання ((, що надане в площині пари?

0%
0%
0%
0%
0%
View this question

Якими є методи аналітичної механіки?

0%
0%
0%
0%
View this question

Want instant access to all verified answers on exam.nuwm.edu.ua?

Get Unlimited Answers To Exam Questions - Install Crowdly Extension Now!

Browser

Add to Chrome