logo

Crowdly

Browser

Add to Chrome

Normes - Machines & Installations

Looking for Normes - Machines & Installations test answers and solutions? Browse our comprehensive collection of verified answers for Normes - Machines & Installations at learn.s2.rpn.ch.

Get instant access to accurate answers and detailed explanations for your course questions. Our community-driven platform helps students succeed!

Quelle couleur est recommandé pour les circuits de commande en 24VDC ?

View this question

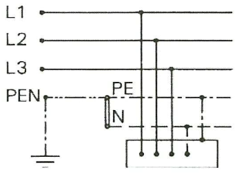
Comment peut-on identifier le conducteur PEN.

UNE ou PLUSIEURS réponses possibles

0%
0%
0%
0%
0%
View this question

Sur ce câble, à quoi doit être raccordé le conducteur noir?

0%
0%
0%
0%
0%
View this question

Cocher toutes les installations où il est obligatoire d'appliquer les NIBT

0%
0%
0%
View this question

Cocher toutes les installations à courant faible

View this question
View this question

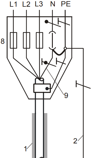
Ci-dessous, est représenté un coffret de raccordement/introduction de l'entrée d'un bâtiment (vasque d'entrée).

Associer les bons numéros/symbole aux bonnes descriptions

View this question

Comment s'appelle ce système de distribution ?

View this question

Comment s'appelle ce système de distribution ?

View this question

Comment s'appelle le système ou les conducteurs de protection et le neutre sont tirés séparément.

View this question

Want instant access to all verified answers on learn.s2.rpn.ch?

Get Unlimited Answers To Exam Questions - Install Crowdly Extension Now!

Browser

Add to Chrome