logo

Crowdly

Browser

Add to Chrome

2024/25/2 - Gyártóberendezések és rendszerek II. - BGXGR26BLE/EA1

Looking for 2024/25/2 - Gyártóberendezések és rendszerek II. - BGXGR26BLE/EA1 test answers and solutions? Browse our comprehensive collection of verified answers for 2024/25/2 - Gyártóberendezések és rendszerek II. - BGXGR26BLE/EA1 at main.elearning.uni-obuda.hu.

Get instant access to accurate answers and detailed explanations for your course questions. Our community-driven platform helps students succeed!

A szenzorok használhatósága szempontjából milyen jelek az optimálisak ? 

Jelölje meg az ÖSSZES helyes választ!

0%
0%
0%
0%
View this question

Válassza ki a z alábbiak közül a cellavezérlő üzemmódjait!

100%
100%
100%
100%
100%
View this question

Jelölje be az alapgépre NEM jellemző megállapításokat!

0%
0%
0%
0%
0%
0%
0%
0%
0%
0%
0%
View this question

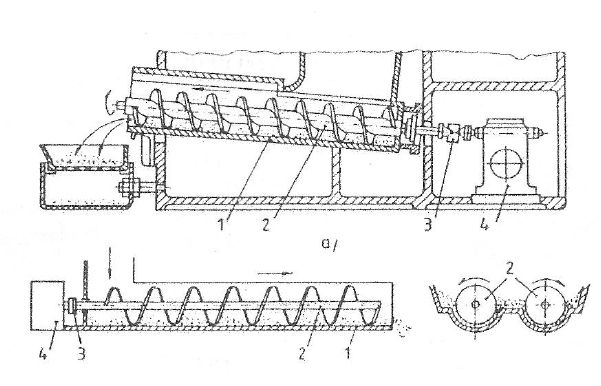
Mi látható a mellékelt ábrán?

0%
100%
0%
0%
0%
0%
View this question

Mi látható a mellékelt ábrán?

0%
100%
0%
0%
0%
0%
View this question

Jelölje meg a palettacserélőre jellemző megállapításokat!

0%
100%
100%
100%
0%
0%
View this question

Jelölje meg a palettákra jellemző megállapításokat!

100%
100%
100%
View this question

Jelölje meg a palettaváltóra jellemző megállapításokat!

100%
100%
0%
View this question

A paletta ellátó rendszerre jellemző: (Jelölje meg az ÖSSZES helyes megállapítást!)

0%
0%
0%
0%
0%
0%
0%
0%
0%
0%
View this question

Az ábrán látható anyagmozgatási rendszer jellemzői: (Jelölje meg az ÖSSZES helyes megállapítást!)

100%
100%
0%
100%
0%
0%
0%
100%
100%
0%
View this question

Want instant access to all verified answers on main.elearning.uni-obuda.hu?

Get Unlimited Answers To Exam Questions - Install Crowdly Extension Now!

Browser

Add to Chrome