logo

Crowdly

Browser

Add to Chrome

Архітектура будівель та споруд

Looking for Архітектура будівель та споруд test answers and solutions? Browse our comprehensive collection of verified answers for Архітектура будівель та споруд at mdl.lntu.edu.ua.

Get instant access to accurate answers and detailed explanations for your course questions. Our community-driven platform helps students succeed!

Які три основні вимоги до архітектурних споруд виділяв Вітрувій?

0%
100%
0%
0%
View this question

Який матерiал не можна використовувати для облицювання поверхнi цоколя?

0%
0%
0%
100%
0%
View this question

Ділянки стін між віконними та дверними прорізами називають

0%
0%
0%
100%
0%
View this question

 Назвіть найраціональнішу перегородку для міжкімнатного, міжквартирного ненесучого огородження  

0%
100%
0%
0%
0%
View this question

Які перегородки допускається спирати на конструкції підлоги?

0%
0%
0%
100%
0%
View this question

Встанови відповідність між архітектурно-конструктивним елементом стіни та його розташуванням

Елементи стіни

View this question

Що є основою будівлі?

0%
0%
100%
0%
0%
View this question

Виберіть несучі елементи конструкцій

0%
0%
100%
0%
100%
100%
100%
View this question

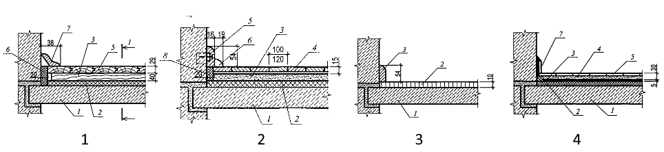
Встанови від повідність між рисунком конструкції підлоги та її видом

види підлог

View this question

 Яка конструктивна висота дерев'яних балок перекриття? 

0%
0%
0%
100%
View this question

Want instant access to all verified answers on mdl.lntu.edu.ua?

Get Unlimited Answers To Exam Questions - Install Crowdly Extension Now!

Browser

Add to Chrome