logo

Crowdly

Browser

Add to Chrome

Виробниче навчання 2 курс (Ш24, ПОТ24)

Looking for Виробниче навчання 2 курс (Ш24, ПОТ24) test answers and solutions? Browse our comprehensive collection of verified answers for Виробниче навчання 2 курс (Ш24, ПОТ24) at moodle.karazin.ua.

Get instant access to accurate answers and detailed explanations for your course questions. Our community-driven platform helps students succeed!

У чоловічих сорочках ширина

манжети у готовому вигляді дорівнює:

50%
0%
50%
View this question

Побудова

лінії окату передньої частини рукава:

0%
0%
0%
View this question

Довжина

рукава без манжети у чоловічій сорочці дорівнює:

0%
100%
0%
View this question

Оформлення

лінії пройми пілочки виконується через точки:

100%
0%
0%
View this question

Величина лінії Г4 П6 розраховується:

0%
0%
0%
View this question

Яку величину відкладають дугою А4 П50?

100%
0%
0%
View this question

Висота

вертикального діаметру Вd визначена:

0%
0%
0%
View this question

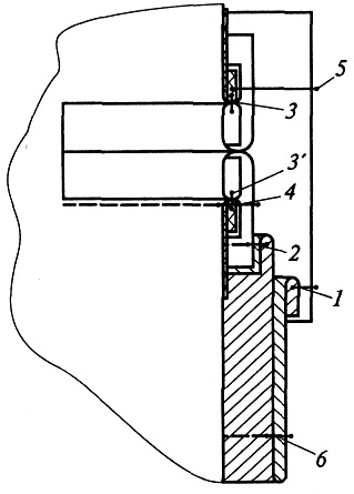
Строчка 3 визначає:

0%
0%
0%
View this question

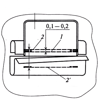
Відстань між строчками пришивання обшивок дорівнює:

0%
100%
0%
View this question

Строчка 5 визначає:

0%
0%
0%
View this question

Want instant access to all verified answers on moodle.karazin.ua?

Get Unlimited Answers To Exam Questions - Install Crowdly Extension Now!

Browser

Add to Chrome