logo

Crowdly

Browser

Add to Chrome

Креслення

Looking for Креслення test answers and solutions? Browse our comprehensive collection of verified answers for Креслення at moodle.natc.org.ua.

Get instant access to accurate answers and detailed explanations for your course questions. Our community-driven platform helps students succeed!

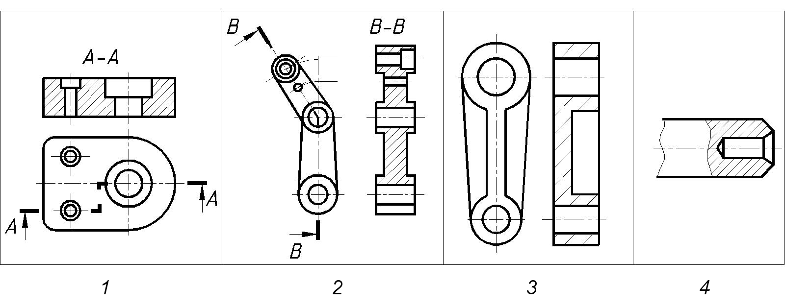
Як називається розріз Б-Б ?

(впишіть вірну відповідь одним словом,регістр символів неважливий)

View this question

Як називається розріз А-А ?

(впишіть вірну відповідь одним словом, регістр символів неважливий)

View this question

Який розріз побудований на рисунку?

0%
0%
100%
0%
View this question

Поставте у відповідність назви та зображення:

View this question

Розставити назви речовин і матеріалів у відповідності до рисунків.

View this question

Поставте у відповідність назви перерізів та їх зображення:

View this question

Поставте у відповідність назвам зображення:

View this question

Поставте у відповідність назви та зображення:

View this question

Знайдіть аксонометричне зображення тіла за комплексним кресленням.

 

0%
50%
0%
50%
View this question

Поставте у відповідність назви та зображення:

View this question

Want instant access to all verified answers on moodle.natc.org.ua?

Get Unlimited Answers To Exam Questions - Install Crowdly Extension Now!

Browser

Add to Chrome