logo

Crowdly

Browser

Add to Chrome

Тестирование.

Looking for Тестирование. test answers and solutions? Browse our comprehensive collection of verified answers for Тестирование. at sdoipo.ucp.by.

Get instant access to accurate answers and detailed explanations for your course questions. Our community-driven platform helps students succeed!

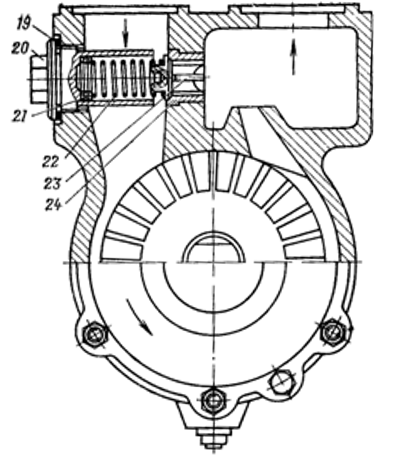
Разрез какого насоса изображен на рисунке?

0%
0%
0%
0%
100%
View this question

Регулирование подачи вихревых насосов осуществляется

Насос

вихревой самовсасывающий 2,5ВС-3а

0%
0%
0%
0%
View this question

Назовите деталь, указанную стрелкой на чертеже шиберного вакуумного насоса

0%
0%
0%
0%
100%
View this question

Водитель согласно "Правил организации технической службы....." обеспечивает

0%
0%
View this question

В соответствии с Правилами организации технической службы в ОПЧС водитель

0%
0%
0%
0%
0%
View this question

В соответствии с Правилами организации технической службы в ОПЧС водитель, лицо, допущенное к управлению ТС:

View this question

Want instant access to all verified answers on sdoipo.ucp.by?

Get Unlimited Answers To Exam Questions - Install Crowdly Extension Now!

Browser

Add to Chrome