logo

Crowdly

Browser

Add to Chrome

Електричні машини [05422]

Looking for Електричні машини [05422] test answers and solutions? Browse our comprehensive collection of verified answers for Електричні машини [05422] at vns.lpnu.ua.

Get instant access to accurate answers and detailed explanations for your course questions. Our community-driven platform helps students succeed!

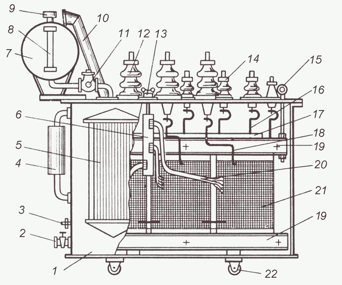
Позицією з яким номером на рисунку позначено  газове реле?

View this question

На підставі

наведеної схеми сполучення обмоток

трансформатор

а визначте номер його групи

сполучення.

View this question

Яка допускається

найбільша різниця у величинах напруг КЗ

трансформатор

ів, що підключатимуться на

паралельну роботу?

View this question

Обчисліть коефіцієнт

потужності трифазного

трансформатор

а за неробочого ходу, якщо виміряні під час

цього досліду величини становили: лінійна напруга – 660 В; лінійний струм –

9 А; споживана

трансформатором потужність – 931 Вт.

View this question

На векторній діаграмі вкажіть

номер вектору реактивної складової струму неробочого ходу

трансформатора.

View this question

Обчисліть кратність

усталеного значення струму короткого замикання

трансформатор

а, якщо аварія

виникла за номінальної напруги. Напруга КЗ, вказана на табличці

трансформатор

а

становить – 4,4 %.

View this question

Обчисліть приведене значення струму вторинної

обмотки

трансформатор

а, якщо відомими є: струм вторинної обмотки – 10 А;

коефіцієнт трансформації – 7,7.

View this question

У першого трансформатор

а напруга

КЗ 4%, у другого 8%. Всі інші номінальні дані однакові. У якого з

трансформаторів, за однакового активно-індуктивного навантаження вторинна напруга буде вищою?

View this question

Який характер може мати

навантаження

трансформатор

а, якщо за зменшення струму від номінального до нуля

вторинна напруга зростає на 10 B?

0%
0%
0%
0%
View this question

Визначте ККД трансформатор

а у %, якщо активна

потужність навантаження –

3700 Вт, потужність неробочого ходу 310 Вт, потужність короткого замикання 320 Вт.

View this question

Want instant access to all verified answers on vns.lpnu.ua?

Get Unlimited Answers To Exam Questions - Install Crowdly Extension Now!

Browser

Add to Chrome