logo

Crowdly

Browser

Add to Chrome

Електричні машини [05422]

Looking for Електричні машини [05422] test answers and solutions? Browse our comprehensive collection of verified answers for Електричні машини [05422] at vns.lpnu.ua.

Get instant access to accurate answers and detailed explanations for your course questions. Our community-driven platform helps students succeed!

Напруга короткого замикання трансформатор

а 7,4 %,

її активна складова 3,5 %. Визначте зміну вторинної напруги у % за

номінального навантаження, якщо коефіцієнті потужності становить 0,7.

View this question

Обчисліть приведене значення індуктивного опору

розсіювання вторинної обмотки

трансформатор

а, якщо відомими є: індуктивний опір

розсіювання вторинної обмотки – 0,7 Ом; коефіцієнт трансформації – 6,6.

View this question

На векторній діаграмі вкажіть

номер вектору реактивної складової струму неробочого ходу

трансформатора.

View this question

На графіку

зображено одну з характеристик неробочого ходу. Яку величину відкладено по осі

ординат?

View this question

Розрахуйте

активний опір гілки намагнічування заступної схеми трифазного

трансформатор

а,

якщо його схема сполучення – Y/

Y

-0, а

виміряні під час досліду неробочого ходу величини становили: лінійна напруга –

380 В; лінійний струм – 40 А; споживана трансформатором потужність – 410 Вт.

View this question

В якому режимі роботи

трансформатор більше нагрівається?
View this question

Номінальна лінійна напруга первинної обмотки трифазного

трансформатора підключеного за схемою Δ/Y становить 660

В, його коефіцієнт

трансформації рівний

7,6

. Визначте величину номінальної лінійної напруги

вторинної обмотки.

View this question

Чому магнітна система

трансформатор

а збирається з окремих тонких листів електротехнічної сталі,

ізольованих між собою?

0%
0%
0%
0%
View this question

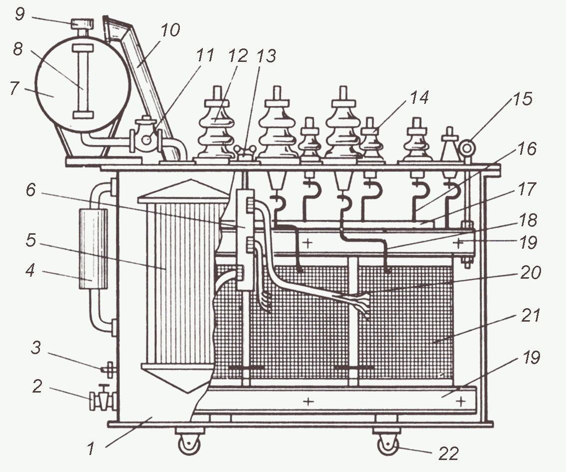
Позицією з яким номером на рисунку позначено  ярмову балку?

View this question

Для генератора постійного струму з незалежним збудженням відомими є:

  • частота обертання – 2300 об/хв;
  • напруга збудження – 520 В;
  • тип обмотки якоря – проста хвилева;
  • кількість полюсів – 6;
  • кількість пазів на якорі – 37;
  • кількість провідників в одному пазі – 26;
  • опір обмотки якоря – 0,151 Ом;
  • опір обмотки додаткових полюсів – 0,421 Ом;
  • опір обмотки збудження – 230 Ом.

Магнітна характеристика машини наближається залежністю , де =0,003, а  – струм збудження.

Якою буде напруга на затискачах цього генератора, якщо струм навантаження становитиме 40 А?

Явище реакції якоря та спад напруги на щітках не враховуємо.

View this question

Want instant access to all verified answers on vns.lpnu.ua?

Get Unlimited Answers To Exam Questions - Install Crowdly Extension Now!

Browser

Add to Chrome