logo

Crowdly

Browser

Add to Chrome

Електричні машини [05422]

Looking for Електричні машини [05422] test answers and solutions? Browse our comprehensive collection of verified answers for Електричні машини [05422] at vns.lpnu.ua.

Get instant access to accurate answers and detailed explanations for your course questions. Our community-driven platform helps students succeed!

Обчисліть значення

номінального струму однофазного

трансформатор

а, якщо його номінальна первинна

напруга – 380 В, а виміряні під час досліду короткого замикання величини

становили: напруга КЗ – 7,7 %; споживана потужність КЗ – 55 Вт; коефіцієнт

потужності – 0,5.

View this question

Зображено зовнішні характеристики

двох

трансформаторів, включених на паралельну роботу. У якого трансформатора більший повний опір короткого замикання?

0%
50%
View this question

Розрахуйте

активний опір гілки намагнічування заступної схеми трифазного

трансформатор

а,

якщо його схема сполучення – Y/

Y

-0, а

виміряні під час досліду неробочого ходу величини становили: лінійна напруга –

380 В; лінійний струм – 43 А; споживана трансформатором потужність – 970 Вт.

View this question

Номінальна лінійна напруга первинної обмотки трифазного

трансформатора підключеного за схемою Δ/Y становить 380

В, його коефіцієнт

трансформації рівний

9,9

. Визначте величину номінальної лінійної напруги

вторинної обмотки.

View this question

На графіку зображено одну з

характеристик короткого замикання. Яку величину відкладено по осі ординат?

0%
0%
0%
0%
0%
0%
View this question

Чому дорівнює ККД

трансформатора в режимі неробочого ходу?

View this question

Який режим роботи

трансформатора відображає дана векторна діаграма?

View this question

За яких схем сполучення

трифазного стрижньового

трансформатор

а в кривій магнітного потоку, за умови

насичення магнітопроводу, виникає його третя гармоніка?

0%
0%
0%
0%
0%
View this question

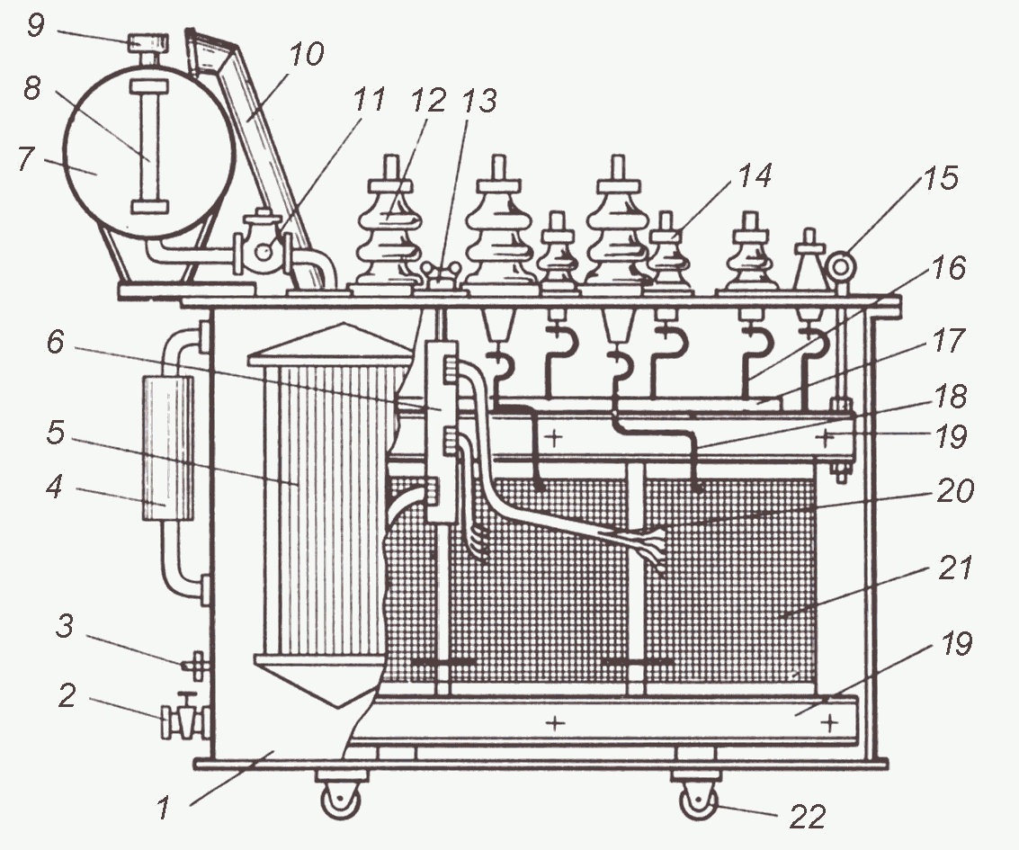
Позицією з яким номером на рисунку позначено обмотку ВН?,

View this question

З якої причини в силових

трансформатор

ах обмотка нижчої напруги розташована ближче до стрижня

магнітопровода ніж обмотка вищої напруги?

View this question

Want instant access to all verified answers on vns.lpnu.ua?

Get Unlimited Answers To Exam Questions - Install Crowdly Extension Now!

Browser

Add to Chrome