logo

Crowdly

Browser

Add to Chrome

Будова та експлуатація обладнання харчових виробництв

Looking for Будова та експлуатація обладнання харчових виробництв test answers and solutions? Browse our comprehensive collection of verified answers for Будова та експлуатація обладнання харчових виробництв at dl.guscoll.com.

Get instant access to accurate answers and detailed explanations for your course questions. Our community-driven platform helps students succeed!

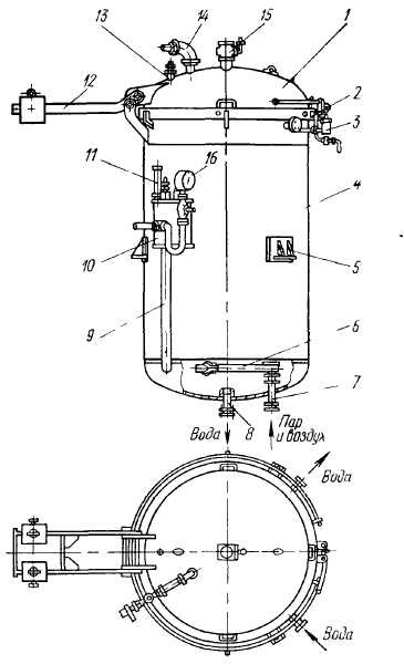
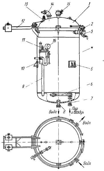
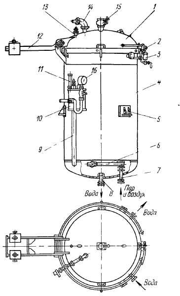
На рисунку позиція 12 це

0%
0%
100%
0%
View this question

Автоклав повинен бути

View this question

На рисунку позиція 12 це

0%
0%
0%
0%
View this question

Автоклав призначений для теплового обробітку продукту

View this question

На рисунку під позицією 7 зображено

0%
0%
0%
0%
View this question

На рисунку зображено

0%
0%
0%
0%
View this question

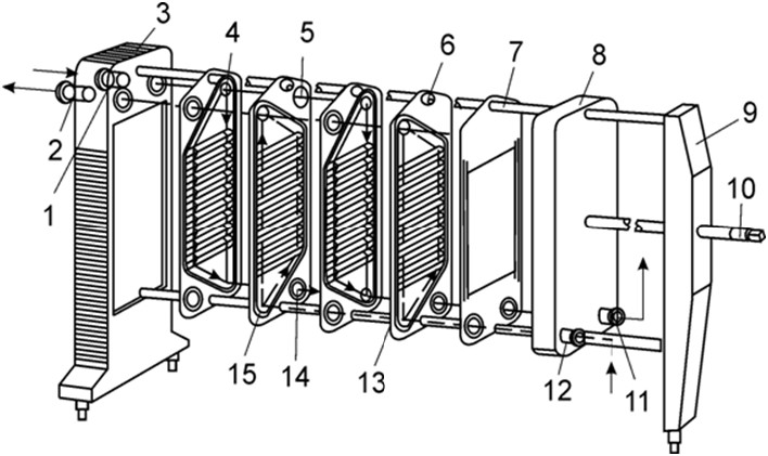
Перевагою кожухотрубних теплообмінників є

View this question

Застосування в автоклавах програмного забезпечення дозволяє

0%
0%
0%
0%
View this question

На рисунку зображено

0%
0%
0%
0%
View this question

Вакуум-випарні апарати призначені для

0%
0%
0%
0%
View this question

Want instant access to all verified answers on dl.guscoll.com?

Get Unlimited Answers To Exam Questions - Install Crowdly Extension Now!

Browser

Add to Chrome