logo

Crowdly

Browser

Add to Chrome

Будова та експлуатація обладнання харчових виробництв

Looking for Будова та експлуатація обладнання харчових виробництв test answers and solutions? Browse our comprehensive collection of verified answers for Будова та експлуатація обладнання харчових виробництв at dl.guscoll.com.

Get instant access to accurate answers and detailed explanations for your course questions. Our community-driven platform helps students succeed!

За принципом дії теплообмінні апарати можуть бути

0%
0%
100%
0%
View this question

На рисунку зображено

0%
0%
100%
0%
View this question

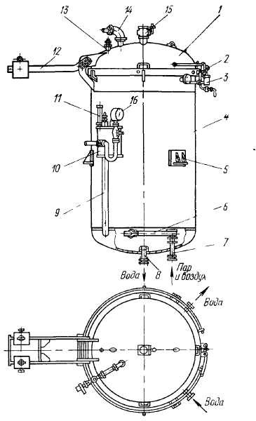
На рисунку зображено:

100%
0%
0%
0%
View this question

Врівноважувальний пристрій на кришці автоклава призначений для

View this question

Величина, обернена коефіцієнту теплопередачі називається

View this question

Під позицією 5 на рисунку зображено

0%
0%
0%
0%
View this question

Для охолодження живильного середовища до потрібної температури, при стерилізації, застосовують

View this question

Суттєвий вплив на роботу центрифуг має

View this question

Під позицією 5 на рисунку зображено

0%
100%
0%
0%
View this question

Під час процесу сушіння відбувається

100%
0%
0%
0%
View this question

Want instant access to all verified answers on dl.guscoll.com?

Get Unlimited Answers To Exam Questions - Install Crowdly Extension Now!

Browser

Add to Chrome