logo

Crowdly

Browser

Add to Chrome

Будова та експлуатація обладнання харчових виробництв М-41

Looking for Будова та експлуатація обладнання харчових виробництв М-41 test answers and solutions? Browse our comprehensive collection of verified answers for Будова та експлуатація обладнання харчових виробництв М-41 at dl.guscollege.com.

Get instant access to accurate answers and detailed explanations for your course questions. Our community-driven platform helps students succeed!

Машини ударно-забивної дії призначені для укупорки пляшок :

100%
0%
0%
0%
View this question

Для чого застосовуються закупорочні машини

0%
0%
100%
0%
View this question

Напівавтомат АЗС-1 для завивання   призначений:

0%
0%
0%
0%
View this question

Фасувальні автомати (наповнювачі) можна розділити на три групи в залежності від методу наповнення тари

0%
0%
100%
0%
View this question

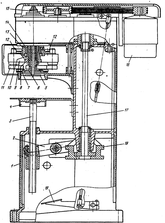
На рисунку зображено

0%
0%
100%
0%
View this question

Надбарометричний метод фасування рідких продуктів характеризується:

0%
0%
100%
0%
View this question

Що знаходить ся під цифрою 7

0%
0%
0%
100%
View this question

Яка з машин фасувальний автомат ВАР-б для тихих рідин:

0%
0%
0%
0%
View this question

Під дією яких сил відбувається фасування рідких продуктів

0%
0%
0%
0%
View this question

Барометричний метод фасування рідких продуктів характеризується:

0%
100%
0%
0%
View this question

Want instant access to all verified answers on dl.guscollege.com?

Get Unlimited Answers To Exam Questions - Install Crowdly Extension Now!

Browser

Add to Chrome