logo

Crowdly

Browser

Add to Chrome

Будова та експлуатація обладнання харчових виробництв М-41

Looking for Будова та експлуатація обладнання харчових виробництв М-41 test answers and solutions? Browse our comprehensive collection of verified answers for Будова та експлуатація обладнання харчових виробництв М-41 at dl.guscollege.com.

Get instant access to accurate answers and detailed explanations for your course questions. Our community-driven platform helps students succeed!

Кожним з трьох методів дозувати продукт можна:

0%
100%
0%
0%
View this question

Для чого здійснюється пакуваня

0%
0%
0%
0%
View this question

Перший метод наповнення  (барометричний) характеризується :

0%
0%
0%
0%
View this question

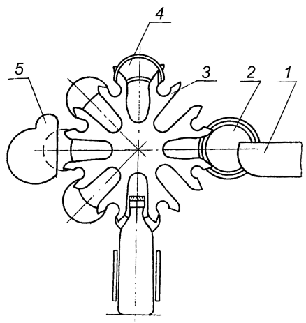
На рисунку під позицією 4 зображено

0%
0%
0%
0%
View this question

Що спочатку формують з приготовленої мас при завиванні пластичних продуктів

0%
0%
0%
100%
View this question

                   На які 3 групи розділяють фасувальні автомати в залежності від методу наповнення тари :

0%
0%
0%
0%
View this question

На схемі роботи етикеткопередавача під позицією 2 зображено

0%
100%
0%
0%
View this question

Автомат для завивання цукерок ЗКЦА призначений для:

0%
0%
0%
0%
View this question

Механізм подачі целофану в напівавтоматі АЗС-1 складається:

0%
0%
100%
0%
View this question

В завивальних і укладальних автоматах пакування здійснюється в два етапи:

0%
0%
0%
0%
View this question

Want instant access to all verified answers on dl.guscollege.com?

Get Unlimited Answers To Exam Questions - Install Crowdly Extension Now!

Browser

Add to Chrome