logo

Crowdly

Browser

Add to Chrome

2024/2025 - 2 - денна ДВС - Щебликіна О.В.

Looking for 2024/2025 - 2 - денна ДВС - Щебликіна О.В. test answers and solutions? Browse our comprehensive collection of verified answers for 2024/2025 - 2 - денна ДВС - Щебликіна О.В. at do.kart.edu.ua.

Get instant access to accurate answers and detailed explanations for your course questions. Our community-driven platform helps students succeed!

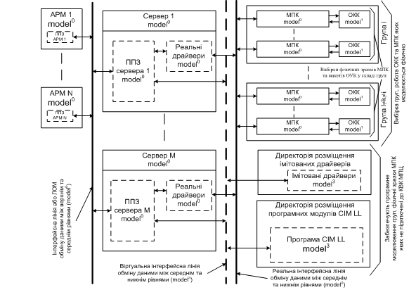
Який метод комбінованих випробувань реалізується наведеною структурною схемою комбінованого випробувального комплексу системи МПЦ?

0%
0%
0%
0%
0%
0%
0%
0%
0%
View this question
Чому для ергатичної системи керування інтервал часу [tз+T; tз+T+ Δt],

де tз – момент виникнення захисної,

Т – тривалість припустимого простою ергатичної системи,

Δt – перевищення часу відновлення справного стану системи ЕЦ над часом припустимого простою Т,

характеризується як небезпечний стан всередині захисного стану?

0%
0%
0%
0%
0%
View this question
Поняттям «засіб випробувань» охоплюються:
View this question
Чому для ергатичної системи керування інтервал часу [tз+T; tз+T+ Δt],

де tз – момент виникнення захисної,

Т – тривалість припустимого простою ергатичної системи,

Δt – перевищення часу відновлення справного стану системи ЕЦ над часом припустимого простою Т,

характеризується як небезпечний стан всередині захисного стану?

0%
0%
0%
0%
0%
View this question
Який метод комбінованих випробувань визначає наведений формалізований опис?

Image failed to load
View this question
В якому випадку виконується корегування динамічної складової моделі для випробувань?
View this question
Для відтворення множини об’єктів керування і контролю в графічній моделі об’єкта випробувань використовуються:
View this question
Синтез моделі для випробувань системи залізничної автоматики передбачає формування:
View this question
Статична складова моделі для випробувань реалізується:
View this question
Що закладається в основу методу прямих сум при синтезі моделі для випробувань системи залізничної автоматики?
0%
0%
0%
0%
View this question

Want instant access to all verified answers on do.kart.edu.ua?

Get Unlimited Answers To Exam Questions - Install Crowdly Extension Now!

Browser

Add to Chrome