logo

Crowdly

Browser

Add to Chrome

Різальний інструмент Частина 1 (Богданов О.О.)

Looking for Різальний інструмент Частина 1 (Богданов О.О.) test answers and solutions? Browse our comprehensive collection of verified answers for Різальний інструмент Частина 1 (Богданов О.О.) at do.nmu.org.ua.

Get instant access to accurate answers and detailed explanations for your course questions. Our community-driven platform helps students succeed!

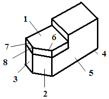
Який елемент токарного різця позначений на малюнку позицією 1 ?

0%
0%
0%
0%
View this question

Який елемент токарного різця позначений на малюнку позицією 7 ?

0%
0%
0%
0%
View this question

Що є мірою зношеності різця?

0%
0%
100%
0%
View this question

Кут різання різця δ дорівнює:

0%
0%
0%
0%
View this question

Вкажіть призначення кута загострення β

0%
100%
0%
0%
View this question

Розгортки призначені для:

0%
0%
0%
100%
View this question

За способом застосування сили верстата до інструменту прошивки працюють:

0%
100%
0%
0%
View this question

Раціональне значення головного заднього кута α знаходиться в межах:

0%
0%
0%
0%
View this question

Вкажіть призначення калібруючої частини мітчика

0%
0%
0%
0%
View this question

Діаметр посадкового отвору фрези визначається за формулою:

0%
0%
0%
0%
View this question

Want instant access to all verified answers on do.nmu.org.ua?

Get Unlimited Answers To Exam Questions - Install Crowdly Extension Now!

Browser

Add to Chrome