logo

Crowdly

Browser

Add to Chrome

Різальний інструмент Частина 1 (Богданов О.О.)

Looking for Різальний інструмент Частина 1 (Богданов О.О.) test answers and solutions? Browse our comprehensive collection of verified answers for Різальний інструмент Частина 1 (Богданов О.О.) at do.nmu.org.ua.

Get instant access to accurate answers and detailed explanations for your course questions. Our community-driven platform helps students succeed!

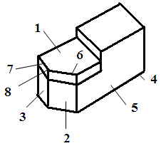
Який елемент токарного різця позначений на малюнку позицією 7 ?

0%
0%
0%
0%
View this question

Калібруюча частина розгортки складається з:

100%
0%
0%
0%
View this question

Вкажіть зуборізні інструменти, що працюють методом копіювання

100%
0%
0%
0%
View this question

Вкажіть переваги протяжок

0%
0%
0%
0%
View this question

Діаметр серцевини мітчика розраховується за формулою:

0%
0%
100%
0%
View this question

Вкажіть види фрез по розташуванню зубів

0%
0%
100%
0%
View this question

Вкажіть призначення головного заднього кута α ріжучого інструменту

0%
0%
0%
0%
View this question

Вкажіть призначення переднього кута γ ріжучого инструменту

0%
0%
0%
0%
View this question

Чому дорівнює сума кутів у головній січній площині?

0%
0%
0%
100%
View this question

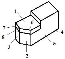
Який елемент токарного різця позначений на малюнку позицією 4 ?

0%
0%
0%
0%
View this question

Want instant access to all verified answers on do.nmu.org.ua?

Get Unlimited Answers To Exam Questions - Install Crowdly Extension Now!

Browser

Add to Chrome