logo

Crowdly

Browser

Add to Chrome

141 - Електричні машини та мікромашини

Looking for 141 - Електричні машини та мікромашини test answers and solutions? Browse our comprehensive collection of verified answers for 141 - Електричні машини та мікромашини at do.nmu.org.ua.

Get instant access to accurate answers and detailed explanations for your course questions. Our community-driven platform helps students succeed!

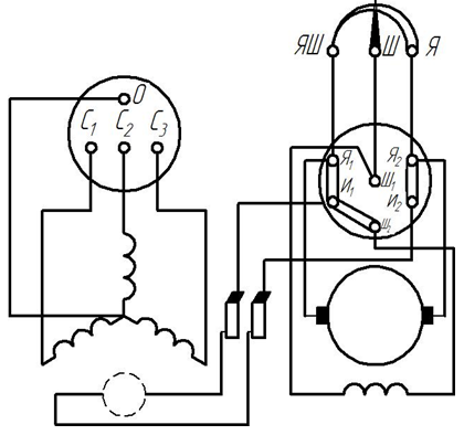
Якщо движок Ш реостата переміщується з положення ЯШ

у положення Я, то напруга синхронного генератора…

100%
0%
0%
0%
View this question

 Якщо движок Ш

реостата синхронного генератора

знаходиться

у положенні

ЯШ , то … 

0%
0%
0%
0%
View this question
Синхронну машину, що працює на холостому ході в режимі перезбудження і підключена до мережі, яка завантажена активно-індуктивним навантаженням, називається:
100%
0%
0%
0%
View this question
Не існує способу пуску синхронних двигунів:
0%
0%
0%
0%
View this question

Поперечна реакція якоря синхронного генератора діє:

25%
0%
0%
25%
50%
0%
View this question

Частота обертання, яку має синхронна машина за 2Р = 8,  f = 50 Гц:

75%
0%
0%
25%
View this question

Частота обертання, яку має синхронна машина за 2Р = 2,  f = 50 Гц:

0%
75%
0%
25%
View this question

Частота обертання, яку має синхронна машина за Р = 4,  f = 500 Гц:

0%
25%
0%
75%
View this question

Будова синхронної машини…

0%
100%
0%
0%
View this question

Постійні втрати в машинах

постійного

струму складаються із:

0%
0%
0%
0%
View this question

Want instant access to all verified answers on do.nmu.org.ua?

Get Unlimited Answers To Exam Questions - Install Crowdly Extension Now!

Browser

Add to Chrome