logo

Crowdly

Browser

Add to Chrome

Котельні установки промислових підприємств

Looking for Котельні установки промислових підприємств test answers and solutions? Browse our comprehensive collection of verified answers for Котельні установки промислових підприємств at exam.nuwm.edu.ua.

Get instant access to accurate answers and detailed explanations for your course questions. Our community-driven platform helps students succeed!

З якою метою передні ряди пароперегрівника фестонують?

View this question

Яка схема компонування пароперегрівників відповідає наступним параметрам пари - 13,8 МПа, 560 °С

0%
0%
0%
0%
View this question

Водяні економайзери за призначенням умовно поділяються на:

View this question

На схемі екранів барабанного котла середнього тиску вкажіть позицію стельових труб

0%
0%
0%
0%
View this question

Вкажіть діапазон зниження ентальпії перегрітої пари, яку повинен забезпечити пароохолоджувач

View this question

На рисунку переставлена рухома опора барабану котла, співставте позиції

View this question

Забір водяної пари для перегріву проводять з:

View this question

В якому типі повітропідігрівника теплота продуктів згоряння передається безперервно повітрю через стінку, що розділяє теплоносії?

0%
0%
0%
0%
View this question

Для перегріву пари початкового тиску використовують пароперегрівники

0%
0%
0%
0%
View this question

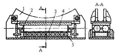
На рисунку представлена компоновка економайзера, співставте позиції

View this question

Want instant access to all verified answers on exam.nuwm.edu.ua?

Get Unlimited Answers To Exam Questions - Install Crowdly Extension Now!

Browser

Add to Chrome