logo

Crowdly

Browser

Add to Chrome

Котельні установки промислових підприємств

Looking for Котельні установки промислових підприємств test answers and solutions? Browse our comprehensive collection of verified answers for Котельні установки промислових підприємств at exam.nuwm.edu.ua.

Get instant access to accurate answers and detailed explanations for your course questions. Our community-driven platform helps students succeed!

Радіаційні пароперегрівники барабанних котлів зазвичай розташовують

View this question

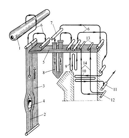
На рисунку подана схема руху пари і продуктів згоряння, вкажіть позицію протитокової схеми

View this question

Газощільні панелі екранів дають можливість

View this question

В залежності від способу передачі теплоти від газів до поверхонь нагріву пароперегрівники розділяють

View this question

На рисунку подана схема руху пари і продуктів згоряння, вкажіть позицію змішаної схеми

View this question

Яка приведена схема прямоточних котлів системи Зульцера

View this question

На рисунку представлена схема руху пари в котлоагрегаті, співставте позиції

View this question

Дано паровий котел паропродуктивністю 4 т/год з параметрами пари: тиск пари 1,3 МПа, температура перегрітої пари 250 °С. Визначити теплосприймання пароперегрівника, якщо ентальпія живильної води рівна . Котел працює на твердому паливі з розрахунковою витратою 1 кг/с.

0%
0%
0%
0%
View this question

Первинний пароперегрівник призначений

0%
0%
0%
0%
View this question

У трубчатих рекуперативних повітропідігрівниках швидкість повітря приймається рівною

0%
0%
0%
0%
View this question

Want instant access to all verified answers on exam.nuwm.edu.ua?

Get Unlimited Answers To Exam Questions - Install Crowdly Extension Now!

Browser

Add to Chrome