logo

Crowdly

Browser

Add to Chrome

Тестирование.

Looking for Тестирование. test answers and solutions? Browse our comprehensive collection of verified answers for Тестирование. at sdoipo.ucp.by.

Get instant access to accurate answers and detailed explanations for your course questions. Our community-driven platform helps students succeed!

При обнаружении посторонних предметов в протекторе шины, боковине или между сдвоенными колесами необходимо

0%
100%
0%
0%
0%
View this question

На схеме автоматического регулировочного рычага стрелкой указан

0%
0%
0%
0%
View this question

На схеме пневмогидроусилителя тормозов Урал-4320 стрелкой указан

0%
0%
0%
100%
0%
View this question

На схеме автоматического регулировочного рычага прямоугольником указан

0%
0%
0%
0%
View this question

Укажите технические особенности  ускорительного клапана в тормозной системе

0%
0%
View this question

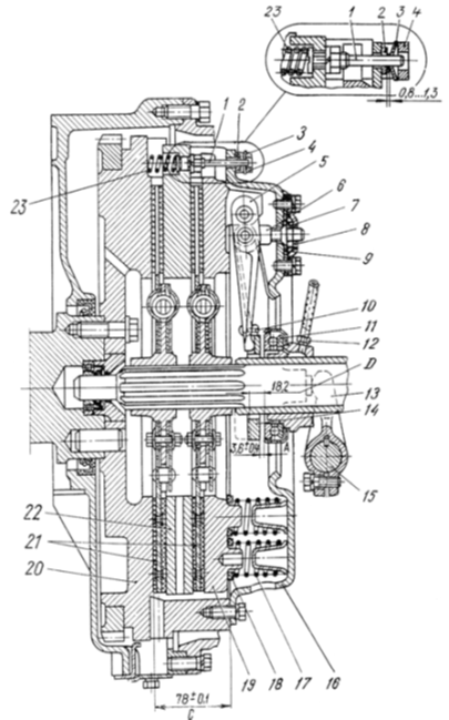
Укажите техническое особенности изображенной на рисунке коробки перемены передач

0%
0%
0%
View this question

На рисунке центрального редуктора главной передачи заднего моста стрелкой указан

0%
0%
0%
0%
View this question

На рисунке привода выключения сцепления стрелкой указан

0%
0%
0%
0%
View this question

На рисунке изображен чертеж сцепления, укажите его технические особенности

0%
0%
View this question

Раздаточная коробка предназначена

0%
0%
0%
View this question

Want instant access to all verified answers on sdoipo.ucp.by?

Get Unlimited Answers To Exam Questions - Install Crowdly Extension Now!

Browser

Add to Chrome