logo

Crowdly

Browser

Add to Chrome

Обстеження і реконструкція будівель і споруд після пожежі [04233]

Looking for Обстеження і реконструкція будівель і споруд після пожежі [04233] test answers and solutions? Browse our comprehensive collection of verified answers for Обстеження і реконструкція будівель і споруд після пожежі [04233] at vns.lpnu.ua.

Get instant access to accurate answers and detailed explanations for your course questions. Our community-driven platform helps students succeed!

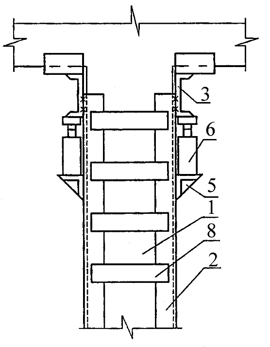
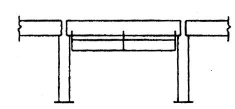
Вказати основні конструктивні елементи при виконанні даного типу підсилення

View this question
Вказати схему підсилення металевих бало з улаштуванням затяжок
0%
0%
0%
0%
View this question

Вказати що це за тип підсилення і якого елементу це підсилення

0%
0%
0%
0%
View this question

Вказати характерну відмінність між групою схемм підсилення "а" та групою "б"

0%
0%
0%
0%
View this question

Вказати метод підсилення металевих балок з використанням кронштейнів

0%
0%
0%
0%
View this question

Вказати основні конструктивні елементи для даного типу підсилення

View this question

Вказати назву даного типу підсилення

0%
0%
0%
0%
View this question

Вказати основні конструктивні елементи даної схеми підсилення

View this question

Вказати схему підсилення залізобетонних балок методом влаштуванням розвантажувальні кронштейнів

0%
0%
0%
0%
View this question

Вказати основні конструктивні елементи даного типу підсилення

View this question

Want instant access to all verified answers on vns.lpnu.ua?

Get Unlimited Answers To Exam Questions - Install Crowdly Extension Now!

Browser

Add to Chrome