logo

Crowdly

Browser

Add to Chrome

Обстеження і реконструкція будівель і споруд після пожежі [04233]

Looking for Обстеження і реконструкція будівель і споруд після пожежі [04233] test answers and solutions? Browse our comprehensive collection of verified answers for Обстеження і реконструкція будівель і споруд після пожежі [04233] at vns.lpnu.ua.

Get instant access to accurate answers and detailed explanations for your course questions. Our community-driven platform helps students succeed!

Вказати як називаються наведені типи підсилення плит перекриття

View this question

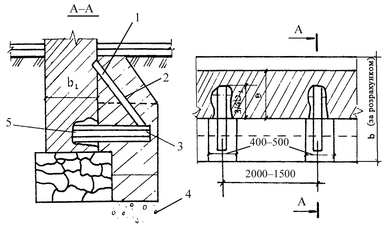
Вказати основні конструктивні елементи підсилення

View this question

На даному рисунку зображена схема підсилення цегляних стовпів обоймами:

0%
0%
0%
View this question

Вказати основні конструктивні елементи

View this question

Вказати основні конструктивні елементи

View this question

Вказати основні конструктивні елементи при підсиленні кам'яних стін залізобетонною обоймою

View this question

Назвати основні конструктивні елементи при підсиленні будівлі напруженими сталевими тяжами на рівні перекриття:

View this question

Розширення стрічкових фундаментів

односторонніми монолітними банкетами:

View this question

Наведений тип підсилення це 

0%
0%
0%
0%
View this question

Даний метод підсилення бутових фундаментів називається:

0%
0%
0%
0%
View this question

Want instant access to all verified answers on vns.lpnu.ua?

Get Unlimited Answers To Exam Questions - Install Crowdly Extension Now!

Browser

Add to Chrome