logo

Crowdly

Browser

Add to Chrome

06-IIR-L-A2-S2: Componente mecanice tipizate (Seria BB - 2024)

Looking for 06-IIR-L-A2-S2: Componente mecanice tipizate (Seria BB - 2024) test answers and solutions? Browse our comprehensive collection of verified answers for 06-IIR-L-A2-S2: Componente mecanice tipizate (Seria BB - 2024) at curs.upb.ro.

Get instant access to accurate answers and detailed explanations for your course questions. Our community-driven platform helps students succeed!

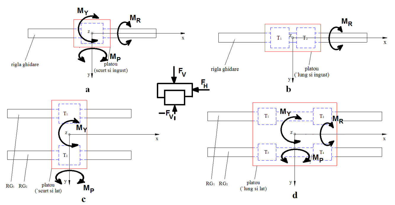
Cu referire la literele a, b, c, d, marcate sub fiecare figura din imaginea

de mai jos, precizati care dintre tipurile de componente organologice de mai

jos pot fi utilizate in scopul preluarii incarcarilor figurate pentru fiecare

caz in parte:

1: bucse cu bile

2: caneluri cu bile

3: tanchete cu bile

Observatie: fiecare ansamblu mobil se considera incarcat cu fortele de

tip Fv, -Fv, Fh, (figurate in zona centrala a figurii) si respectiv cu tipurile

de momente de rotatie Mr, Mp, My specifice (figurate pe elementele mobile din

fiecare caz).

0%
0%
0%
0%
0%
0%
0%
0%
0%
0%
0%
0%
View this question

Dintre categoriile de ghidajele de mai jos:

a: tanchete cu role

b: rigle de ghidare cu bile / role

c: tanchete cu bile

d: bucse cu bile

e: galeti

f: caneluri cu bile

care sunt:

1: cu elemente intermediare nerecirculabile

2: cu elemente intermediare recirculabile

25%
13%
13%
0%
88%
75%
25%
38%
100%
50%
88%
63%
View this question

Care dintre ghidajele din figurile de mai jos au:

a: contact “in O”

b: contact “in X”

c: contact “in Y”

0%
0%
100%
0%
100%
100%
0%
0%
100%
100%
100%
0%
0%
0%
100%
100%
0%
0%
0%
0%
0%
0%
0%
100%
0%
0%
0%
View this question

Cu referire la ansamblul mobil prezentat in figura de mai jos si

respectiv notarea cu literele A, B, C, D a celor 4 puncte de ghidare –

sustinere a platoului, precum si a galetilor 1, 2 si 3 dintr-o unitate de

ghidare precizati:

a. cum sunt galetii de tip 1 din punctele A, B, C, D

b. cum sunt galetii de tip 2 din punctele A, B, C, D

c. cum sunt galetii de tip 3 din punctele A, B, C, D

0%
0%
0%
0%
0%
0%
0%
0%
0%
0%
0%
0%
0%
0%
0%
0%
0%
0%
0%
0%
0%
0%
0%
0%
View this question

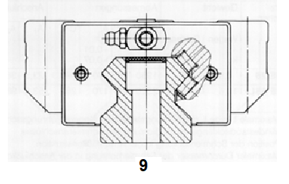
Cu referire la figura de mai jos

 

a. selectati pentru reperele numerotate denumirea corecta a acestora in

conformitate cu specificul constructiv - functional al elementelor din

structura componentelor tipizate de tip bucse cu bine.

1: stergator de cale de rulare si sistem de etansare

2: piese de recirculare a elementelor intermediare

3: elemente intermediare

4: elemente pentru materializarea traseelor rectilinii ale bilelor

5: piese pentru materializarea cailor de rulare pentru bilele portante

6: corpul bucsei cu bile

 b: pentru elementele 1, 2, 5, 6 din structura bucsei cu bile

din figura de mai jos precizati din ce material sunt realizate [din

metal (otel aliat), sau din mase plastice sau din cauciuc]

0%
0%
0%
0%
0%
0%
0%
0%
0%
0%
0%
0%
0%
0%
0%
0%
0%
0%
0%
0%
0%
0%
0%
0%
View this question

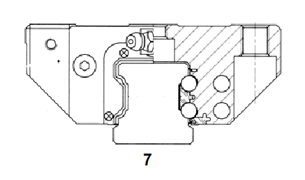
Cu referire la ansamblul mobil prezentat in figura de mai jos si

respectiv notarea cu literele A, B, C, D a celor 4 puncte de ghidare –

sustinere a platoului mobil pe orizontala, si respectiv cu literele E, F, G, H

a a celor 4 puncte de ghidare – sustinere a culisei mobile pe verticala,

precizati:

a. cum sunt galetii din punctele A, B, C, D

b. cum sunt galetii din punctele E, F, G, H

100%
0%
100%
0%
0%
100%
0%
0%
0%
100%
100%
100%
100%
0%
100%
0%
View this question

Pentru ghidajele din figurile de mai jos in acord cu numarul de sub

fiecare tip de ghidaje precizati daca:

a: ghidajul are caile de rulare cu profil “in V”

b: ghidajul are caile de rulare cu profil ogival

c: ghidajul are caile de rulare cu profil circular

0%
100%
0%
0%
0%
50%
0%
0%
0%
0%
50%
50%
50%
100%
50%
0%
100%
0%
50%
50%
0%
View this question

Cu referire la ansamblul mobil prezentat in figura de mai jos si

respectiv notarea cu literele A, B, C, D a celor 4 puncte de ghidare –

sustinere a platoului, precum si a galetilor 1, 2 si 3 dintr-o unitate de

ghidare precizati:

a. cum sunt galetii de tip 1 din punctele A, B, C, D

b. cum sunt galetii de tip 2 din punctele A, B, C, D

c. cum sunt galetii de tip 3 din punctele A, B, C, D

0%
0%
0%
0%
0%
0%
0%
0%
0%
0%
0%
0%
0%
0%
0%
0%
0%
0%
0%
0%
0%
0%
0%
0%
View this question

Cu referire la numarul din fata figurilor in care se prezinta diferite

variante de galeti, pentru fiecare dintre acestia precizati daca:

a: galetii pot prelua doar sarcini radiale

b: galetii pot prelua atat sarcini radiale cat si sarcini

axiale

c: galetii sunt de tipul 4, 6, si 7, 

 cati galeti sunt necesari pentru materializarea unui

singur punct de ghidare-sustinere a unui ansamblu mobil cu 4 puncte de ghidare

sustinere

1

5

7

0%
0%
0%
0%
0%
0%
0%
0%
0%
0%
0%
0%
0%
0%
0%
0%
0%
0%
0%
0%
0%
0%
0%
View this question

Cu referire la ansamblul mobil prezentat in figura de mai jos si

respectiv notarea cu literele A, B, C, D a celor 4 puncte de ghidare –

sustinere a platoului, precum si a galetilor 1, 2 si 3 dintr-o unitate de

ghidare precizati:

a. cum sunt galetii de tip 1 din punctele A, B, C, D

b. cum sunt galetii de tip 2 din punctele A, B, C, D

c. cum sunt galetii de tip 3 din punctele A, B, C, D

0%
0%
0%
0%
0%
100%
100%
0%
100%
100%
100%
100%
0%
0%
100%
0%
100%
0%
0%
100%
100%
100%
0%
100%
View this question

Want instant access to all verified answers on curs.upb.ro?

Get Unlimited Answers To Exam Questions - Install Crowdly Extension Now!

Browser

Add to Chrome