logo

Crowdly

Browser

Add to Chrome

Пассажирский комплекс железнодорожного транспорта Д1, очное

Looking for Пассажирский комплекс железнодорожного транспорта Д1, очное test answers and solutions? Browse our comprehensive collection of verified answers for Пассажирский комплекс железнодорожного транспорта Д1, очное at eor.stu.ru.

Get instant access to accurate answers and detailed explanations for your course questions. Our community-driven platform helps students succeed!

Важнейшими факторами,

определяющими итоговую конструкцию схем узловых пассажирских станций, являются:

View this question

Учтено требование - расположение  устройств для равномерной загрузки стрелочных горловин ПС.

0%
100%
View this question

При наличии или появлении в

перспективе транзитных  поездопотоков между линиями (в

направлениях Б-В и Г-А) необходимо предусмотреть дополнительные развязки и

соединения, показанные пунктиром.

100%
0%
View this question

Число

путей для обслуживания грузового движения на пассажирских станциях,

выполняющих работу с местными вагонами определяется по нормативам для грузовых станций общего пользования, расположенных в узле. 

100%
0%
View this question

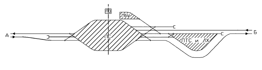
4 - пути ПБУ 

100%
0%
View this question

3- парк отстоя пригородных составов 

0%
100%
View this question

Средняя группа приемо-отправочных путей ПС используется для пропуска сквозных поездов соответствующего направления.

0%
100%
View this question

С торцов платформ ПС проектируются короткие тупиковые пути для временной стоянки

почтово-багажных вагонов, поездных локомотивов в ожидании прицепки к составу,

вагонов беспересадочного сообщения (на узловых станциях), служебных вагонов и другого специализированного подвижного состава.

100%
0%
View this question

По расположению

приемо-отправочных путей различаются следующие типы пассажирских станций:

View this question

На основе опыта проектирования и эксплуатации крупных станций

установлены следующие общие требования к их горловинам:

0%
0%
View this question

Want instant access to all verified answers on eor.stu.ru?

Get Unlimited Answers To Exam Questions - Install Crowdly Extension Now!

Browser

Add to Chrome