logo

Crowdly

Browser

Add to Chrome

Технічна механіка. Теоретична та прикладна механіка (екзаменаційний тест 2025)

Looking for Технічна механіка. Теоретична та прикладна механіка (екзаменаційний тест 2025) test answers and solutions? Browse our comprehensive collection of verified answers for Технічна механіка. Теоретична та прикладна механіка (екзаменаційний тест 2025) at mdl.ksma.ks.ua.

Get instant access to accurate answers and detailed explanations for your course questions. Our community-driven platform helps students succeed!

На якому

рисунку зображена фрикційна передача?

0%
0%
0%
0%
100%
0%
View this question

На якому

рисунку зображена плоскопасова передача?

0%
0%
0%
100%
0%
View this question

Чому дорівнює  модуль рівнодіючої сил F1 і F2

0%
100%
0%
0%
View this question

У

чотирьох ромбів одна і та ж площа поперечного перерізу. В якому випадку

значення моменту інерції щодо осі

x (Ix) найменше?

0%
0%
0%
100%
View this question

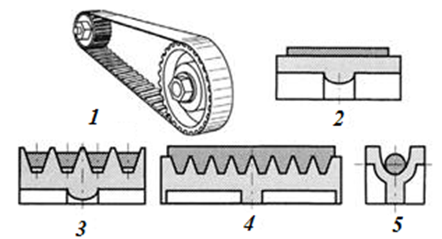
Як класифікується передача показана на рисунку?

0%
0%
100%
0%
0%
0%
View this question

У

чотирьох ромбів одна і та ж площа поперечного перерізу. В якому випадку

значення моменту інерції щодо осі

x (Ix) найбільше?

0%
100%
0%
0%
View this question

Яка сила буде рівнодіючою сил F1 і F2:

0%
100%
0%
0%
View this question

Якого діаметра d4

повинне бути колесо фрикційної передачі, щоб 

при z

1=37;   z2=148;   d3

=27 мм загальне передавальне

число механізму було рівним 12?

0%
0%
0%
0%
100%
0%
View this question

100%
0%
0%
0%
View this question

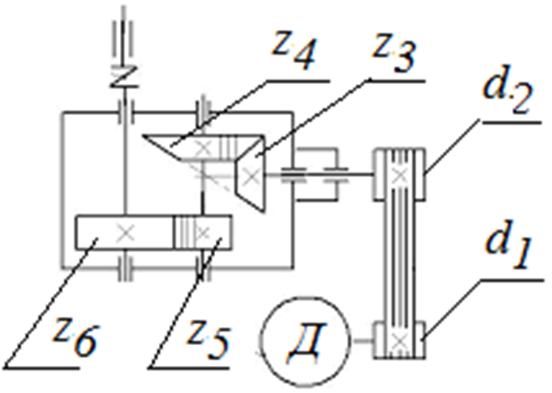
Який діаметр d1

повинен мати ведучий шків пасової передачі, щоб момент на вихідному валу

збільшився у 18 разів, якщо d

2= 320 мм;  z3= 18;   z4= 54;   z5= 32;   z6= 48?

100%
0%
0%
0%
0%
0%
View this question

Want instant access to all verified answers on mdl.ksma.ks.ua?

Get Unlimited Answers To Exam Questions - Install Crowdly Extension Now!

Browser

Add to Chrome