logo

Crowdly

Browser

Add to Chrome

Технічна механіка. Теоретична та прикладна механіка (екзаменаційний тест 2025)

Looking for Технічна механіка. Теоретична та прикладна механіка (екзаменаційний тест 2025) test answers and solutions? Browse our comprehensive collection of verified answers for Технічна механіка. Теоретична та прикладна механіка (екзаменаційний тест 2025) at mdl.ksma.ks.ua.

Get instant access to accurate answers and detailed explanations for your course questions. Our community-driven platform helps students succeed!

Якою повинна бути швидкість

обертання n

двигуна  Д

,

щоб вихідний вал обертався з частотою n

4= 22 хв-1

,

якщо   d

1= 120 мм;  d2= 300 мм;  z3= 18;  z4= 54;   d5= 80 мм;  d6= 240мм?

0%
0%
0%
0%
0%
0%
View this question

Що

відбудеться з частотою обертання на виході редуктора?

View this question

Яке

різьблення найчастіше застосовують для кріпильних з'єднань:

View this question

Чому дорівнює  модуль рівнодіючої сил F1 і F2

View this question

Що називається миттєвим центром швидкостей?

0%
0%
0%
View this question

Яке тіло називається невільним?

0%
0%
0%
0%
0%
View this question

Визначте

передавальне число черв'ячної передачі, якщо число зубів колеса z

2

=

32, а число заходів черв'яка z

1 = 4.

0%
0%
0%
0%
0%
0%
0%
View this question

Плечем сили відносно центру називається:

0%
0%
0%
0%
0%
View this question

В якому

діапазоні передавальних чисел застосовуються черв'ячні передачі?

0%
0%
0%
0%
0%
View this question

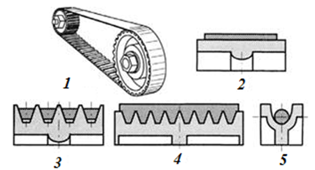
На якому

рисунку зображена плоскопасова передача?

0%
0%
0%
0%
View this question

Want instant access to all verified answers on mdl.ksma.ks.ua?

Get Unlimited Answers To Exam Questions - Install Crowdly Extension Now!

Browser

Add to Chrome