logo

Crowdly

Browser

Add to Chrome

Технічна механіка. Теоретична та прикладна механіка (екзаменаційний тест 2025)

Looking for Технічна механіка. Теоретична та прикладна механіка (екзаменаційний тест 2025) test answers and solutions? Browse our comprehensive collection of verified answers for Технічна механіка. Теоретична та прикладна механіка (екзаменаційний тест 2025) at mdl.ksma.ks.ua.

Get instant access to accurate answers and detailed explanations for your course questions. Our community-driven platform helps students succeed!

Яка

головна перевага у складних зубчастих передач (I) в порівнянні з одинарними

передачами (II)?

0%
0%
0%
0%
0%
0%
View this question

Чому дорівнює  модуль рівнодіючої сил F1 і F2

0%
0%
0%
0%
View this question

0%
0%
0%
0%
View this question

Вкажіть правильний напрямок реакцій у твердому закладенні А

100%
0%
0%
0%
View this question

Укажіть напрямок реакцій зв'язку, якщо зв'язок - рухливий циліндричний

шарнір

0%
0%
0%
0%
View this question

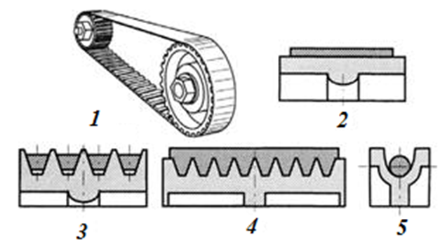
На якому

рисунку зображена плоскопасова передача?

View this question

Як класифікується передача показана на рисунку?

View this question

Вкажіть правильний напрямок реакцій у крапці А

0%
0%
0%
0%
View this question

Який рух твердого тіла називається поступальним?

0%
0%
0%
View this question

Вам необхідна зубчаста передача з передавальним числом 4:1 і веденим

колесом, що обертається в тому ж напрямку, що і ведуче.  Виберіть відповідну передачу.

0%
0%
0%
0%
View this question

Want instant access to all verified answers on mdl.ksma.ks.ua?

Get Unlimited Answers To Exam Questions - Install Crowdly Extension Now!

Browser

Add to Chrome