logo

Crowdly

Browser

Add to Chrome

KP22GH-0708-BÜP

Looking for KP22GH-0708-BÜP test answers and solutions? Browse our comprehensive collection of verified answers for KP22GH-0708-BÜP at moodle.bsrueti.ch.

Get instant access to accurate answers and detailed explanations for your course questions. Our community-driven platform helps students succeed!

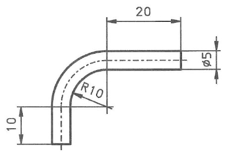
Berechnen Sie beim abgebildeten Biegeteil die Länge der neutralen Faser.

Biegeteil

HINWEIS: Runden Sie das Resultat auf die nächste ganze Zahl. Tragen Sie diese Zahl ohne Einheit ein.

View this question

Welche Angabe zum Thema Korrosion stimmt?

View this question

Welche klimatische Bedingung begünstigt die Korrosion von Stahl am stärksten?

0%
0%
0%
0%
View this question

Der Kohlenstoffgehalt beeinflusst die Stahleigenschaften. Mit steigendem Kohlenstoffgehalt...

View this question

Want instant access to all verified answers on moodle.bsrueti.ch?

Get Unlimited Answers To Exam Questions - Install Crowdly Extension Now!

Browser

Add to Chrome