logo

Crowdly

Browser

Add to Chrome

Тестирование.

Looking for Тестирование. test answers and solutions? Browse our comprehensive collection of verified answers for Тестирование. at sdoipo.ucp.by.

Get instant access to accurate answers and detailed explanations for your course questions. Our community-driven platform helps students succeed!

Укажите технические особенности приведенного на фото агрегата

0%
0%
0%
0%
View this question

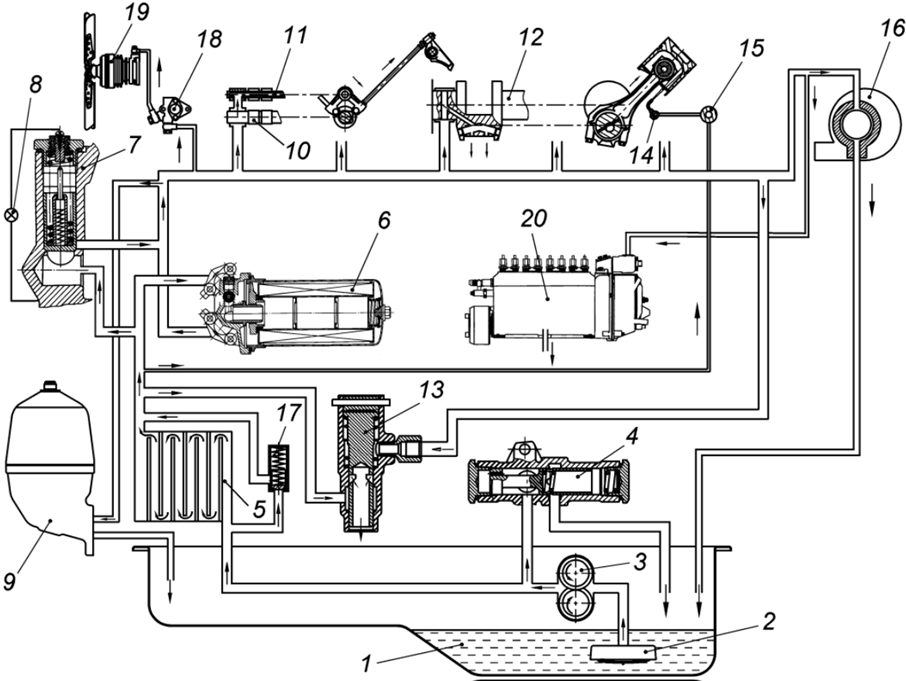
Укажите технические особенности узла, схема которого изображена на рисунке

0%
0%
0%
View this question

Сцепление предназначено

100%
0%
100%
100%
0%
View this question

На рисунке привода выключения сцепления стрелкой указан

0%
0%
100%
0%
0%
View this question

На чертеже раздаточной коробки МАЗ с коробкой отбора мощности для привода пожарного насоса стрелкой указан

100%
0%
0%
0%
0%
View this question

На чертеже раздаточной коробки МАЗ с коробкой отбора мощности для привода пожарного насоса стрелкой указан

0%
100%
0%
0%
0%
View this question

На рисунке изображен чертеж сцепления, укажите его технические особенности

0%
0%
0%
View this question

Укажите узлы, входящие в традиционную систему питания топливом дизельного двигателя

0%
0%
0%
View this question

Для чего предназначен интеркулер

0%
0%
0%
0%
View this question

Перепускной клапан теплообменника предназначен

0%
0%
0%
0%
100%
View this question

Want instant access to all verified answers on sdoipo.ucp.by?

Get Unlimited Answers To Exam Questions - Install Crowdly Extension Now!

Browser

Add to Chrome