logo

Crowdly

Browser

Add to Chrome

Тестирование.

Looking for Тестирование. test answers and solutions? Browse our comprehensive collection of verified answers for Тестирование. at sdoipo.ucp.by.

Get instant access to accurate answers and detailed explanations for your course questions. Our community-driven platform helps students succeed!

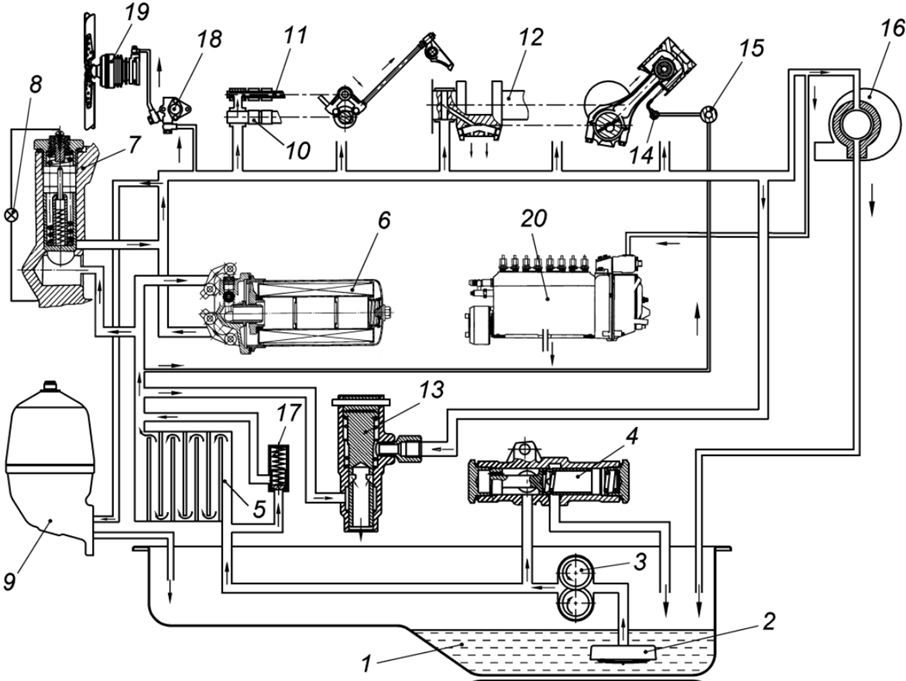
Укажите, что входит в систему охлаждения двигателя внутреннего сгорания

100%
100%
100%
0%
100%
0%
100%
100%
0%
100%
100%
View this question

Укажите технические особенности приведенной на фото детали

0%
0%
0%
View this question

Редукционный клапан маслонасоса предназначен

0%
0%
0%
0%
View this question

Укажите алгоритм включения привода насоса если Коробка отбора мощности установлена на коробке перемены передач

100%
100%
0%
0%
100%
View this question

Укажите особенности задвижки пожарного насоса  ПН-40УВ

0%
0%
View this question

На рисунке шиберного насоса стрелкой указан:

100%
0%
0%
0%
0%
View this question

На фото изображен:

0%
0%
0%
0%
View this question

Назовите деталь, указанную стрелкой на чертеже шиберного вакуумного насоса

100%
0%
0%
0%
0%
View this question

Назовите деталь, указанную стрелкой на модели пожарного

насоса ПН-40УВ

100%
0%
0%
0%
0%
View this question

Кавитация это процесс

0%
0%
0%
0%
View this question

Want instant access to all verified answers on sdoipo.ucp.by?

Get Unlimited Answers To Exam Questions - Install Crowdly Extension Now!

Browser

Add to Chrome