logo

Crowdly

Browser

Add to Chrome

Електричні апарати [04556]

Looking for Електричні апарати [04556] test answers and solutions? Browse our comprehensive collection of verified answers for Електричні апарати [04556] at vns.lpnu.ua.

Get instant access to accurate answers and detailed explanations for your course questions. Our community-driven platform helps students succeed!

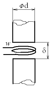
Між двома циліндричними полюсами у сталому магнітному полі повітряного проміжка розташовано вимірювальну котушку (див.рис).

r1Відомо: 

- діаметр циліндричного полюса 132 мм; ;

- величину повітряного проміжку 3 мм;

- кількість витків вимірювальної котушки 12;

- потокозчеплення вимірювальної котушки 0,008 Вб.

Знайти:

- спад магнітної напруги на проміжку в Амперах.

  У результаті вкажіть 4 значущих цифри, наприклад 4,023Е+04 або 0.02345

Відповідь потрібно ввести тут ↓ .

View this question

Для котушки електричного апарата (див.рис.), що живиться постійним струмом

r1задано: 

- площу поверхні охолодження котушки 4742 см2;

- коефіцієнт тепловіддачі з поверхні 6 Bт/м2°C;

- постійну напругу живлення котушки 33 В;

- перевищення температури котушки у 79 °C;

- середня довжина витка котушки 287 мм;

діаметр провідників котушки 0,2 мм;

- кількість витків котушки 103.

Знайти:

- питомий опір матеріалу провідників котушки у [Ом·м].

    У результаті вкажіть 4 значущих цифри, наприклад 4,023Е+04 або 0.02345.

Відповідь потрібно ввести тут ↓ .

View this question

На осерді електромагніта змінного струму встановлено вимірювальну котушку (див.рис).

r1

Відомо: 

- напругу на вольтметрі (діюче знач.) 66 В;

- магнітну індукцію в осерді (амплітудне знач.) 0,8 Тл;

- кількість витків вимірювальної котушки 9;

- діаметр перерізу осердя електромагніта 152 мм.

Знайти:

- частоту магнітного потоку у Гц.

  У результаті вкажіть 4 значущих цифри, наприклад 4,023Е+04 або 0.02345.

Відповідь потрібно ввести тут ↓ .

View this question

Середнє значення тягового зусилля електромагніта змінного струму, обумовлене притяганням екранованої частини магнітопровода становить 95 Н; при цьому магнітна індукція в його робочому повітряному проміжку в околі екранованої частини складає 0,8 Тл.

Знайти площу поперечного перерізу осердя магнітопроводу цього електромагніта.

 

  У результаті вкажіть 4 значущих цифри, наприклад 4,023Е+04 або 0.02345.

Відповідь потрібно ввести тут ↓ .

View this question

Між двома циліндричними полюсами у сталому магнітному полі повітряного проміжка розташовано вимірювальну котушку (див.рис).

r1Відомо: 

- діаметр циліндричного полюса 82 мм; ;

- величину повітряного проміжку 17 мм;

- кількість витків вимірювальної котушки 2;

- потокозчеплення вимірювальної котушки 0,013 Вб.

Знайти:

- спад магнітної напруги на проміжку в Амперах.

  У результаті вкажіть 4 значущих цифри, наприклад 4,023Е+04 або 0.02345

Відповідь потрібно ввести тут ↓ .

View this question

Для котушки електричного апарата (див.рис.), що живиться постійним струмом

r1задано: 

- площу поверхні охолодження котушки 3964 см2;

- коефіцієнт тепловіддачі з поверхні 6 Bт/м2°C;

- постійну напругу живлення котушки 20 В;

- питомий опір матеріалу провідників котушки 1,67x10-8 Ом·м;

- середня довжина витка котушки 389 мм;

діаметр провідників котушки 0,9 мм;

- кількість витків котушки 561.

Знайти:

- перевищення температури котушки у °C.

 

   У результаті вкажіть 4 значущих цифри, наприклад 4,023Е+04 або 0.02345.

Відповідь потрібно ввести тут ↓ .

View this question

На осерді електромагніта змінного струму встановлено вимірювальну котушку (див.рис).

r1

Відомо: 

- частоту магнітного потоку 161 Гц;

- напругу на вольтметрі (діюче знач.) 97 B;

- кількість витків вимірювальної котушки 20;

- діаметр перерізу осердя електромагніта 155 мм.

Знайти:

- магнітну індукцію в осерді (амплітудне знач.) у Тл.

  У результаті вкажіть 4 значущих цифри, наприклад 4,023Е+04 або 0.02345.

Відповідь потрібно ввести тут ↓ .

View this question

Між двома циліндричними полюсами у сталому магнітному полі повітряного проміжка розташовано вимірювальну котушку (див.рис).

r1Відомо: 

- діаметр циліндричного полюса 146 мм;

- спад магнітної напруги на проміжку 4349 A;

- кількість витків вимірювальної котушки 4;

- величину повітряного проміжку 3 мм.

Знайти:

- потокозчеплення вимірювальної котушки у Вб.

  У результаті вкажіть 4 значущих цифри, наприклад 4,023Е+04 або 0.02345

Відповідь потрібно ввести тут ↓ .

View this question

На осерді електромагніта змінного струму встановлено вимірювальну котушку (див.рис).

r1

Відомо: 

- частоту магнітного потоку 138 Гц;

- напругу на вольтметрі (діюче знач.) 91 B;

- кількість витків вимірювальної котушки 12;

- діаметр перерізу осердя електромагніта 187 мм.

Знайти:

- магнітну індукцію в осерді (амплітудне знач.) у Тл.

  У результаті вкажіть 4 значущих цифри, наприклад 4,023Е+04 або 0.02345.

Відповідь потрібно ввести тут ↓ .

View this question

Для котушки електричного апарата (див.рис.), що живиться постійним струмом

r1задано: 

- площу поверхні охолодження котушки 6558 см2;

- коефіцієнт тепловіддачі з поверхні 6 Bт/м2°C;

- постійну напругу живлення котушки 32 В;

- перевищення температури котушки у 146 °C;

- середня довжина витка котушки 684 мм;

діаметр провідників котушки 0,2 мм;

- кількість витків котушки 319.

Знайти:

- питомий опір матеріалу провідників котушки у [Ом·м].

    У результаті вкажіть 4 значущих цифри, наприклад 4,023Е+04 або 0.02345.

Відповідь потрібно ввести тут ↓ .

View this question

Want instant access to all verified answers on vns.lpnu.ua?

Get Unlimited Answers To Exam Questions - Install Crowdly Extension Now!

Browser

Add to Chrome