logo

Crowdly

Browser

Add to Chrome

Електричні апарати [04556]

Looking for Електричні апарати [04556] test answers and solutions? Browse our comprehensive collection of verified answers for Електричні апарати [04556] at vns.lpnu.ua.

Get instant access to accurate answers and detailed explanations for your course questions. Our community-driven platform helps students succeed!

На осерді електромагніта змінного струму встановлено вимірювальну котушку (див.рис).

r1

Відомо: 

- напругу на вольтметрі (діюче знач.) 38 В;

- магнітну індукцію в осерді (амплітудне знач.) 0,3 Тл;

- кількість витків вимірювальної котушки 12;

- діаметр перерізу осердя електромагніта 118 мм.

Знайти:

- частоту магнітного потоку у Гц.

  У результаті вкажіть 4 значущих цифри, наприклад 4,023Е+04 або 0.02345.

Відповідь потрібно ввести тут ↓ .

View this question

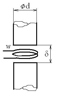
Між двома циліндричними полюсами у сталому магнітному полі повітряного проміжка розташовано вимірювальну котушку (див.рис).

r1Відомо: 

- діаметр циліндричного полюса 100 мм;

- спад магнітної напруги на проміжку 2072 A;

- кількість витків вимірювальної котушки 8;

- потокозчеплення вимірювальної котушки 0,012 Вб.

Знайти:

- величину повітряного проміжку в метрах.

  У результаті вкажіть 4 значущих цифри, наприклад 4,023Е+04 або 0.02345

Відповідь потрібно ввести тут ↓ .

View this question

Між двома циліндричними полюсами у сталому магнітному полі повітряного проміжка розташовано вимірювальну котушку (див.рис).

r1

Відомо:

- спад магнітної напруги на проміжку - 877 A;

- потокозчеплення вимірювальної котушки - 0,139 Вб;

- магнітну провідність повітряного проміжку - 4x10-6 Гн.

Знайти:

- кількість витків вимірювальної котушки.

Результат вкажіть як натуральне число.

Відповідь потрібно ввести тут ↓ .

View this question

На осерді електромагніта змінного струму встановлено вимірювальну котушку (див.рис).

r1

Відомо: 

- напругу на вольтметрі (діюче знач.) 71 В;

- магнітну індукцію в осерді (амплітудне знач.) 0,8 Тл;

- кількість витків вимірювальної котушки 11;

- діаметр перерізу осердя електромагніта 182 мм.

Знайти:

- частоту магнітного потоку у Гц.

  У результаті вкажіть 4 значущих цифри, наприклад 4,023Е+04 або 0.02345.

Відповідь потрібно ввести тут ↓ .

View this question

Для котушки електричного апарата (див.рис.), що живиться постійним струмом

r1задано: 

- площу поверхні охолодження котушки 6558 см2;

- коефіцієнт тепловіддачі з поверхні 6 Bт/м2°C;

- постійну напругу живлення котушки 32 В;

- питомий опір матеріалу провідників котушки 1,76x10-8 Ом·м;

- середня довжина витка котушки 684 мм;

діаметр провідників котушки 0,2 мм;

- кількість витків котушки 319.

Знайти:

- перевищення температури котушки у °C.

 

   У результаті вкажіть 4 значущих цифри, наприклад 4,023Е+04 або 0.02345.

Відповідь потрібно ввести тут ↓ .

View this question

Для котушки електричного апарата (див.рис.), що живиться постійним струмом

r1задано: 

- площу поверхні охолодження котушки 4316 см2;

- коефіцієнт тепловіддачі з поверхні 5 Bт/м2°C;

- постійну напругу живлення котушки 21 В;

- питомий опір матеріалу провідників котушки 1,72x10-8 Ом·м;

- середня довжина витка котушки 798 мм;

діаметр провідників котушки 0,9 мм;

- кількість витків котушки 345.

Знайти:

- перевищення температури котушки у °C.

 

   У результаті вкажіть 4 значущих цифри, наприклад 4,023Е+04 або 0.02345.

Відповідь потрібно ввести тут ↓ .

View this question

Для котушки електричного апарата (див.рис.), що живиться постійним струмом

r1задано: 

- площу поверхні охолодження котушки 3716 см2;

- коефіцієнт тепловіддачі з поверхні 6 Bт/м2°C;

- постійну напругу живлення котушки 50 В;

- перевищення температури котушки у 286 °C;

- середня довжина витка котушки 721 мм;

діаметр провідників котушки 0,5 мм;

- кількість витків котушки 500.

Знайти:

- питомий опір матеріалу провідників котушки у [Ом·м].

    У результаті вкажіть 4 значущих цифри, наприклад 4,023Е+04 або 0.02345.

Відповідь потрібно ввести тут ↓ .

View this question

На осерді електромагніта змінного струму встановлено вимірювальну котушку (див.рис).

r1

Відомо: 

- частоту магнітного потоку 140 Гц;

- напругу на вольтметрі (діюче знач.) 65 B;

- кількість витків вимірювальної котушки 9;

- діаметр перерізу осердя електромагніта 62 мм.

Знайти:

- магнітну індукцію в осерді (амплітудне знач.) у Тл.

  У результаті вкажіть 4 значущих цифри, наприклад 4,023Е+04 або 0.02345.

Відповідь потрібно ввести тут ↓ .

View this question

Між двома циліндричними полюсами у сталому магнітному полі повітряного проміжка розташовано вимірювальну котушку (див.рис).

r1

Відомо:

 

- напруженість магнітного поля в повітряному проміжку 720 кA/м; ;

- магнітну провідність повітряного проміжка 7,7 мкГн;

- кількість витків вимірювальної котушки 79;

- потокозчеплення вимірювальної котушки 2,49 Вб.

Знайти:

- величину повітряного проміжку в міліметрах.

 

  У результаті вкажіть 4 значущих цифри, наприклад 4,023Е+04 або 0.02345

Відповідь потрібно ввести тут ↓ .

View this question

Між двома циліндричними полюсами у сталому магнітному полі повітряного проміжка розташовано вимірювальну котушку (див.рис).

r1Відомо: 

- діаметр циліндричного полюса 49 мм;

- спад магнітної напруги на проміжку 2141 A;

- кількість витків вимірювальної котушки 5;

- потокозчеплення вимірювальної котушки 0,004 Вб.

Знайти:

- величину повітряного проміжку в метрах.

  У результаті вкажіть 4 значущих цифри, наприклад 4,023Е+04 або 0.02345

Відповідь потрібно ввести тут ↓ .

View this question

Want instant access to all verified answers on vns.lpnu.ua?

Get Unlimited Answers To Exam Questions - Install Crowdly Extension Now!

Browser

Add to Chrome