logo

Crowdly

Browser

Add to Chrome

Електричні апарати [04556]

Looking for Електричні апарати [04556] test answers and solutions? Browse our comprehensive collection of verified answers for Електричні апарати [04556] at vns.lpnu.ua.

Get instant access to accurate answers and detailed explanations for your course questions. Our community-driven platform helps students succeed!

Для котушки електричного апарата (див.рис.), що живиться постійним струмом

r1задано: 

- площу поверхні охолодження котушки 3088 см2;

- коефіцієнт тепловіддачі з поверхні 5 Bт/м2°C;

- постійну напругу живлення котушки 22 В;

- питомий опір матеріалу провідників котушки 1,83x10-8 Ом·м;

- середня довжина витка котушки 195 мм;

діаметр провідників котушки 0,7 мм;

- кількість витків котушки 360.

Знайти:

- перевищення температури котушки у °C.

 

   У результаті вкажіть 4 значущих цифри, наприклад 4,023Е+04 або 0.02345.

Відповідь потрібно ввести тут ↓ .

View this question

На осерді електромагніта змінного струму встановлено вимірювальну котушку (див.рис).

r1

Відомо: 

- частоту магнітного потоку 100 Гц;

- магнітну індукцію в осерді (амплітудне знач.) 0,6 Тл;

- кількість витків вимірювальної котушки 11;

- діаметр перерізу осердя електромагніта 115 мм.

Знайти:

- напругу на вольтметрі (діюче знач.) у [В].

  У результаті вкажіть 4 значущих цифри, наприклад 4,023Е+04 або 0.02345.

Відповідь потрібно ввести тут ↓ .

View this question

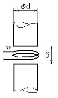
Між двома циліндричними полюсами у сталому магнітному полі повітряного проміжка розташовано вимірювальну котушку (див.рис).

r1Відомо: 

- діаметр циліндричного полюса 140 мм;

- спад магнітної напруги на проміжку 4940 A;

- кількість витків вимірювальної котушки 10;

- величину повітряного проміжку 7,3 мм.

Знайти:

- потокозчеплення вимірювальної котушки у Вб.

  У результаті вкажіть 4 значущих цифри, наприклад 4,023Е+04 або 0.02345

Відповідь потрібно ввести тут ↓ .

View this question

Для котушки електричного апарата (див.рис.), що живиться постійним струмом

r1задано: 

- площу поверхні охолодження котушки 2404 см2;

- коефіцієнт тепловіддачі з поверхні 8 Bт/м2°C;

- постійну напругу живлення котушки 9 В;

- питомий опір матеріалу провідників котушки 1,67x10-8 Ом·м;

- середня довжина витка котушки 789 мм;

діаметр провідників котушки 0,8 мм;

- кількість витків котушки 387.

Знайти:

- перевищення температури котушки у °C.

 

   У результаті вкажіть 4 значущих цифри, наприклад 4,023Е+04 або 0.02345.

Відповідь потрібно ввести тут ↓ .

View this question

На осерді електромагніта змінного струму встановлено вимірювальну котушку (див.рис).

r1

Відомо: 

- напругу на вольтметрі (діюче знач.) 96 В;

- магнітну індукцію в осерді (амплітудне знач.) 0,7 Тл;

- кількість витків вимірювальної котушки 5;

- діаметр перерізу осердя електромагніта 32 мм.

Знайти:

- частоту магнітного потоку у Гц.

  У результаті вкажіть 4 значущих цифри, наприклад 4,023Е+04 або 0.02345.

Відповідь потрібно ввести тут ↓ .

View this question

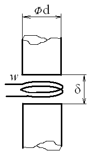
Між двома циліндричними полюсами у сталому магнітному полі повітряного проміжка розташовано вимірювальну котушку (див.рис).

r1Відомо: 

- діаметр циліндричного полюса 74 мм; ;

- величину повітряного проміжку 2 мм;

- кількість витків вимірювальної котушки 10;

- потокозчеплення вимірювальної котушки 0,009 Вб.

Знайти:

- спад магнітної напруги на проміжку в Амперах.

  У результаті вкажіть 4 значущих цифри, наприклад 4,023Е+04 або 0.02345

Відповідь потрібно ввести тут ↓ .

View this question

Між двома циліндричними полюсами у сталому магнітному полі повітряного проміжка розташовано вимірювальну котушку (див.рис).

r1Відомо: 

- діаметр циліндричного полюса 161 мм; ;

- величину повітряного проміжку 9 мм;

- кількість витків вимірювальної котушки 15;

- потокозчеплення вимірювальної котушки 0,016 Вб.

Знайти:

- спад магнітної напруги на проміжку в Амперах.

  У результаті вкажіть 4 значущих цифри, наприклад 4,023Е+04 або 0.02345

Відповідь потрібно ввести тут ↓ .

View this question

На осерді електромагніта змінного струму встановлено вимірювальну котушку (див.рис).

r1

Відомо: 

- частоту магнітного потоку 159 Гц;

- напругу на вольтметрі (діюче знач.) 89 B;

- кількість витків вимірювальної котушки 27;

- діаметр перерізу осердя електромагніта 54 мм.

Знайти:

- магнітну індукцію в осерді (амплітудне знач.) у Тл.

  У результаті вкажіть 4 значущих цифри, наприклад 4,023Е+04 або 0.02345.

Відповідь потрібно ввести тут ↓ .

View this question

Між двома циліндричними полюсами у сталому магнітному полі повітряного проміжка розташовано вимірювальну котушку (див.рис).

r1Відомо: 

- діаметр циліндричного полюса 135 мм; ;

- величину повітряного проміжку 7 мм;

- кількість витків вимірювальної котушки 13;

- потокозчеплення вимірювальної котушки 0,01 Вб.

Знайти:

- спад магнітної напруги на проміжку в Амперах.

  У результаті вкажіть 4 значущих цифри, наприклад 4,023Е+04 або 0.02345

Відповідь потрібно ввести тут ↓ .

View this question

На осерді електромагніта змінного струму встановлено вимірювальну котушку (див.рис).

r1

Відомо: 

- частоту магнітного потоку 100 Гц;

- магнітну індукцію в осерді (амплітудне знач.) 0,6 Тл;

- кількість витків вимірювальної котушки 11;

- діаметр перерізу осердя електромагніта 115 мм.

Знайти:

- напругу на вольтметрі (діюче знач.) у [В].

  У результаті вкажіть 4 значущих цифри, наприклад 4,023Е+04 або 0.02345.

Відповідь потрібно ввести тут ↓ .

View this question

Want instant access to all verified answers on vns.lpnu.ua?

Get Unlimited Answers To Exam Questions - Install Crowdly Extension Now!

Browser

Add to Chrome