logo

Crowdly

Browser

Add to Chrome

FABRICACIÓ AUTOMATITZADA (Curs Total)

Looking for FABRICACIÓ AUTOMATITZADA (Curs Total) test answers and solutions? Browse our comprehensive collection of verified answers for FABRICACIÓ AUTOMATITZADA (Curs Total) at atenea.upc.edu.

Get instant access to accurate answers and detailed explanations for your course questions. Our community-driven platform helps students succeed!

Sigui un punt r subscript U V W end subscript equals(1,2,3), referenciat a un sistema girat 90º respecte a l'eix OX. Calculeu el punt r subscript X Y Z end subscript referenciat en el sistema fix.

View this question

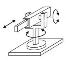
Quants graus de llibertat té el robot de la figura?

0%
0%
0%
0%
View this question

Quin tipus d'articulacions presenta un robot SCADA?

0%
0%
0%
0%
0%
View this question

Quin tipus d'articulacions presenta un robot esfèric?

0%
100%
0%
100%
100%
View this question

Quin tipus d'articulacions presenta un robot cilíndric?

0%
100%
0%
0%
100%
View this question

Quin tipus d'articulacions presenta un robot cartesià?

0%
0%
0%
0%
100%
View this question

Què és un robot autònom?

0%
0%
0%
0%
0%
View this question

Quin tipus d'articulacions presenta un robot articulat?

0%
100%
0%
0%
0%
View this question

Què s'entén per repetibilitat en un robot?

0%
0%
0%
0%
View this question

Les principals diferències entre un manipulador i un robot són:

0%
0%
0%
0%
0%
0%
View this question

Want instant access to all verified answers on atenea.upc.edu?

Get Unlimited Answers To Exam Questions - Install Crowdly Extension Now!

Browser

Add to Chrome