logo

Crowdly

Browser

Add to Chrome

Електричні апарати [04556]

Looking for Електричні апарати [04556] test answers and solutions? Browse our comprehensive collection of verified answers for Електричні апарати [04556] at vns.lpnu.ua.

Get instant access to accurate answers and detailed explanations for your course questions. Our community-driven platform helps students succeed!

Середнє значення тягового зусилля електромагніта змінного струму, обумовлене притяганням екранованої частини магнітопровода становить 114 Н; при цьому магнітна індукція в його робочому повітряному проміжку в околі екранованої частини складає 1,1 Тл.

Знайти площу поперечного перерізу осердя магнітопроводу цього електромагніта.

 

  У результаті вкажіть 4 значущих цифри, наприклад 4,023Е+04 або 0.02345.

Відповідь потрібно ввести тут ↓ .

View this question

Для котушки електричного апарата (див.рис.), що живиться постійним струмом

r1задано: 

- площу поверхні охолодження котушки 5582 см2;

- коефіцієнт тепловіддачі з поверхні 10 Bт/м2°C;

- постійну напругу живлення котушки 29 В;

- перевищення температури котушки у 258 °C;

- середня довжина витка котушки 315 мм;

діаметр провідників котушки 0,5 мм;

- кількість витків котушки 526.

Знайти:

- питомий опір матеріалу провідників котушки у [Ом·м].

    У результаті вкажіть 4 значущих цифри, наприклад 4,023Е+04 або 0.02345.

Відповідь потрібно ввести тут ↓ .

View this question

На осерді електромагніта змінного струму встановлено вимірювальну котушку (див.рис).

r1

Відомо: 

- частоту магнітного потоку 106 Гц;

- напругу на вольтметрі (діюче знач.) 65 B;

- кількість витків вимірювальної котушки 8;

- діаметр перерізу осердя електромагніта 178 мм.

Знайти:

- магнітну індукцію в осерді (амплітудне знач.) у Тл.

  У результаті вкажіть 4 значущих цифри, наприклад 4,023Е+04 або 0.02345.

Відповідь потрібно ввести тут ↓ .

View this question

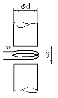
Між двома циліндричними полюсами у сталому магнітному полі повітряного проміжка розташовано вимірювальну котушку (див.рис).

r1Відомо: 

- діаметр циліндричного полюса 132 мм; ;

- величину повітряного проміжку 3 мм;

- кількість витків вимірювальної котушки 12;

- потокозчеплення вимірювальної котушки 0,008 Вб.

Знайти:

- спад магнітної напруги на проміжку в Амперах.

  У результаті вкажіть 4 значущих цифри, наприклад 4,023Е+04 або 0.02345

Відповідь потрібно ввести тут ↓ .

View this question

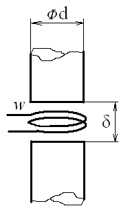
Між двома циліндричними полюсами у сталому магнітному полі повітряного проміжка розташовано вимірювальну котушку (див.рис).

r1

Відомо:

 

- напруженість магнітного поля в повітряному проміжку 1239 кA/м; ;

- магнітну провідність повітряного проміжка 6,1 мкГн;

- кількість витків вимірювальної котушки 33;

- потокозчеплення вимірювальної котушки 0,51 Вб.

Знайти:

- величину повітряного проміжку в міліметрах.

 

  У результаті вкажіть 4 значущих цифри, наприклад 4,023Е+04 або 0.02345

Відповідь потрібно ввести тут ↓ .

View this question

Між двома циліндричними полюсами у сталому магнітному полі повітряного проміжка розташовано вимірювальну котушку (див.рис).

r1Відомо: 

- діаметр циліндричного полюса 91 мм;

- спад магнітної напруги на проміжку 1270 A;

- кількість витків вимірювальної котушки 4;

- величину повітряного проміжку 6,3 мм.

Знайти:

- потокозчеплення вимірювальної котушки у Вб.

  У результаті вкажіть 4 значущих цифри, наприклад 4,023Е+04 або 0.02345

Відповідь потрібно ввести тут ↓ .

View this question

Між двома циліндричними полюсами у сталому магнітному полі повітряного проміжка розташовано вимірювальну котушку (див.рис).

r1Відомо: 

- діаметр циліндричного полюса 149 мм;

- спад магнітної напруги на проміжку 3161 A;

- кількість витків вимірювальної котушки 11;

- величину повітряного проміжку 8,1 мм.

Знайти:

- потокозчеплення вимірювальної котушки у Вб.

  У результаті вкажіть 4 значущих цифри, наприклад 4,023Е+04 або 0.02345

Відповідь потрібно ввести тут ↓ .

View this question

Між двома циліндричними полюсами у сталому магнітному полі повітряного проміжка розташовано вимірювальну котушку (див.рис).

r1Відомо: 

- діаметр циліндричного полюса 146 мм;

- спад магнітної напруги на проміжку 4349 A;

- кількість витків вимірювальної котушки 4;

- потокозчеплення вимірювальної котушки 0,006 Вб.

Знайти:

- величину повітряного проміжку в метрах.

  У результаті вкажіть 4 значущих цифри, наприклад 4,023Е+04 або 0.02345

Відповідь потрібно ввести тут ↓ .

View this question

На осерді електромагніта змінного струму встановлено вимірювальну котушку (див.рис).

r1

Відомо: 

- напругу на вольтметрі (діюче знач.) 54 В;

- магнітну індукцію в осерді (амплітудне знач.) 0,4 Тл;

- кількість витків вимірювальної котушки 29;

- діаметр перерізу осердя електромагніта 75 мм.

Знайти:

- частоту магнітного потоку у Гц.

  У результаті вкажіть 4 значущих цифри, наприклад 4,023Е+04 або 0.02345.

Відповідь потрібно ввести тут ↓ .

View this question

Для котушки електричного апарата (див.рис.), що живиться постійним струмом

r1задано: 

- площу поверхні охолодження котушки 4039 см2;

- коефіцієнт тепловіддачі з поверхні 6 Bт/м2°C;

- постійну напругу живлення котушки 27 В;

- перевищення температури котушки у 292 °C;

- середня довжина витка котушки 154 мм;

діаметр провідників котушки 0,6 мм;

- кількість витків котушки 511.

Знайти:

- питомий опір матеріалу провідників котушки у [Ом·м].

    У результаті вкажіть 4 значущих цифри, наприклад 4,023Е+04 або 0.02345.

Відповідь потрібно ввести тут ↓ .

View this question

Want instant access to all verified answers on vns.lpnu.ua?

Get Unlimited Answers To Exam Questions - Install Crowdly Extension Now!

Browser

Add to Chrome