logo

Crowdly

Browser

Add to Chrome

06-IIR-L-A3-S1: Concepţia şi exploatarea roboţilor industriali 1 (Seria BD - 2025)

Looking for 06-IIR-L-A3-S1: Concepţia şi exploatarea roboţilor industriali 1 (Seria BD - 2025) test answers and solutions? Browse our comprehensive collection of verified answers for 06-IIR-L-A3-S1: Concepţia şi exploatarea roboţilor industriali 1 (Seria BD - 2025) at curs.upb.ro.

Get instant access to accurate answers and detailed explanations for your course questions. Our community-driven platform helps students succeed!

Referitor la RI prezentati in figurile de mai jos precizati:

a. cati RI au actionarea segmentului 2 al bratului articulat printr-o structura de tip lant cinematic inchis

a1. 1

a2. 2

a3. 3

a4. 4

a5. 5

a6. 6

b. cati RI au actionarea segmentului 2 al bratului articulat printr-o structura de tip lant cinematic semi-inchis

b1. 1

b2. 2

b3. 3

b4. 4

b5. 5

b6. 6

c. cati RI au actionarea gradului de libertate "pitch" printr-o structura de tip lant cinematic inchis

c1. 1

c2. 2

c3. 3

c4. 4

c5. 5

c6. 6

A

B

C

D

E

F

0%
100%
0%
0%
0%
0%
0%
0%
0%
0%
100%
100%
0%
0%
0%
0%
0%
0%
View this question

5. Ce tip de reductoare se utilizeaza frecvent in constructia ACN 1, 2 si 3 ale RI  de tip brat articulat fabricati in Europa.

a: reductoare planetare

b: reductoare cicloidale

c. reductoare melcate

d: reductoare cu angrenaje conice hipoide

e: reductoare armonice

6. Ce tip de reductoare se utilizeaza frecvent in constructia ACN 4, 5 si 6 ale RI  de tip brat articulat fabricati in Europa. 

a: reductoare planetare 

b: reductoare cicloidale 

c: reductoare melcate

d: reductoare cu angrenaje conice hipoide

e: reductoare armonice

0%
0%
0%
0%
100%
0%
0%
100%
0%
0%
View this question

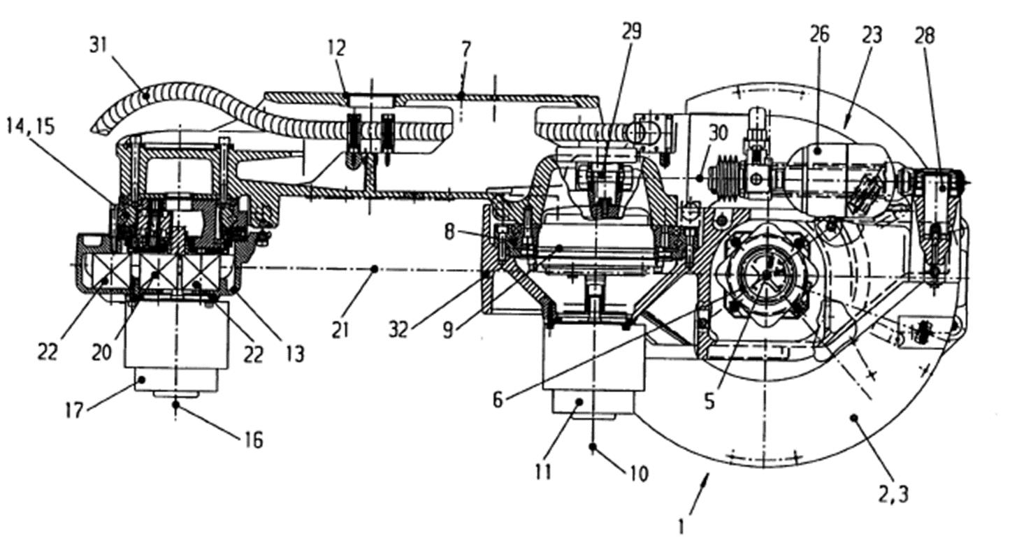
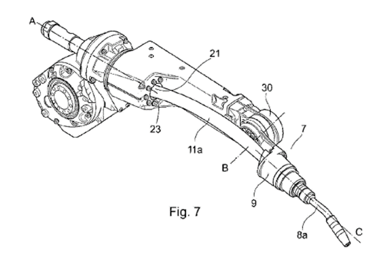
Pentru RI brat articulat dedicat realizarii operatiilor de sudare cu arc electric prezentat in figurile de mai jos precizati:

a. In fig. 7, care este elementul mobil antrenat de axa 4 CN a RI?

b. In fig. 7, care este elementul mobil antrenat de axa 5 CN a RI?

c. In fig. 7, care este elementul mobil antrenat de axa 6 CN a RI?

d. In fig 6, care dintre elementele 28, 33, 34, 35, 36 casetele lagar pentru arborii pinion din angrenajele hipoide incluse in ACN ale RI?

e. Care dintre cele doua roti conice conduse 46, 54 apare in reprezentarea grafica 2D de tip sectiune din dreapta imaginii de tip perspectiva a unitatii de sistem de orientare? (Indicatie: pentru identificarea raspunsului corect, in formularea acestuia corelati imaginea din sectiunea indicata cu cea din sectiunea complementara prezentata in figura 10)

f. Care dintre rotile dintate conice 46 si 54 este inclusa in structura lantului cinematic aferent axei 5 CN?

g. Care dintre rotile dintate conice 46 si 54 este inclusa in structura lantului cinematic aferent axei 6 CN?

0%
0%
0%
0%
0%
100%
0%
100%
100%
100%
0%
0%
100%
0%
0%
0%
100%
0%
100%
100%
View this question

2. Precizati ce tip de reductoare se utilizeaza frecvent in structura ACN ale unui RI de tip brat articulat. 

a: reductoare planetare

b: reductoare cicloidale

c. reductoare melcate

d: reductoare cu angrenaje conice hipoide

e: reductoare armonice

0%
0%
100%
100%
0%
View this question

Cu referire la numerele de ordine din fata fiecarui model de RI precizati:

a. care este valoarea sarcinii portante maxime posibil a fi manevrate de catre RI din imaginile de mai jos

a1 - 800 kg

a2 - 1000 kg

a3 - 1200 kg

a4 - 1500 kg

a5 - 1800 kg

a6 - 2000 kg

a7 - 2300 kg

a8 - 2500 kg

b care modele de RI au sarcina portanta minima

b1 - 1

b2 - 2

b3 - 3

b4 - 4

c care modele de RI au sarcina portanta maxima

c1 - 1

c2- 2

c3 - 3

c4 - 4

d. care dintre modelele de RI includ in structura cinematica proprie l.c. inchise

d1 - 1

d2 - 2

d3 - 3

d4 - 4

e. care dintre modelele de RI includ in structura cinematica proprie l.c. semiinchise 

e1 - 1

e2 - 2

e3 - 3

e4 - 4

1.  2. 

3.  4. 

0%
0%
0%
100%
0%
0%
0%
0%
100%
100%
100%
0%
100%
0%
0%
100%
0%
0%
0%
0%
0%
0%
0%
100%
View this question

Pentru RI KUKA din fig 1 in fig. 2 si fig 3 sunt prezentate structurile interne specifice ACN 1, 2 si 3.

1. Cu referire la numarul de ordine din fata fiecarei figuri si respectiv numerotarea specifica a elementelor componente din structura fiecarei ACN prezentate figurile 2 si 3 selectati care dintre afirmatiile de mai jos sunt corecte:

a. in fig 2, motorul de actionare si carcasa reductorului sunt solidare cu partea fixa a cuplei iar iesirea din reductorul cicloidal este solidara cu platoul rotativ

b. in fig 2, motorul de actionare si carcasa reductorului sunt solidare cu platoul rotativ iar iesirea din reductorul cicloidal este solidara cu partea fixa a cuplei

c. in fig 3, motorul de actionare si carcasa reductorului incluse in ACN 2 sunt solidare cu partea fixa a cuplei iar iesirea din reductorul cicloidal este solidara cu elementul actionat

d. in fig 3, motorul de actionare si carcasa reductorului incluse in ACN 2 sunt solidare cu elementul actionat iar iesirea din reductorul cicloidal este solidara cu partea fixa a cuplei

e. in fig 3, motorul de actionare si carcasa reductorului incluse in ACN 3 sunt solidare cu partea fixa a cuplei iar iesirea din reductorul cicloidal este solidara cu elementul actionat

f. in fig 3, motorul de actionare si carcasa reductorului incluse in ACN 3 sunt solidare cu elementul actionat iar iesirea din reductorul cicloidal este solidara cu partea fixa a cuplei

Indicatii:

Pentru axa 1 a RI Kuka aveti aceeasi solutie de design cu cea utilizata in cadru RI Kawasaki studiat la laborator.

Pentru axele 2 si 2 CN se utilizeaza aceasi principii de conceptie cu cel aplicate la toti RI BA cu segmente dispuse excentric.

 

1. 

2. 

3. 

0%
0%
100%
100%
100%
0%
View this question

7. Frecvent in structura axei 1 CN a RI de tip brat articulat se prefera utilizarea anumit tip de reductor. 

7.1. De ce tip este acesta:

a: reductor planetar 

b: reductor cicloidal 

c: reductor melcat

d: reductor cu angrenaje conice hipoide

e: reductor armonic

7.2. Din ce 2 motive esentiale este preferat acest tip de reductor (selectati doar doua dintre caracteristicile specifice acestor reductoare):

f: are raportul de demultiplicare a turatiei cel mai mic (in valoare absoluta)

g: are raportul de demultiplicare a turatiei cel mai mare (in valoare absoluta)

h: nu are joc functional

i: are joc functional minim

j: antreaza elementul actionat prin intermediul unui arbore central

k: antreaza elementul actionat prin intermediul unui arbore tubular  

l: se poate conecta cu un motor de actionare plasat central (pe axa cuplei de rotatie)

m: se poate conecta cu un motor de actionare plasat excentric (fata de axa cuplei de rotatie) 

0%
0%
0%
0%
0%
0%
0%
0%
0%
100%
100%
100%
0%
View this question

Pentru RI de paletizare din figurile de mai jos precizati:

a. cati RI au sisteme de echilibrare statica

a1. 0 RI

a2. 1 RI

a3. 2 RI

a4. 3 RI

a5. 4 RI

a6 5 RI

a7. 6 RI

b. cati dintre RI au 1 singur sistem de echilibrare statica 

b1. 0 RI

b2. 1 RI

b3. 2 RI

b4. 3 RI

b5. 4 RI

b6 5 RI

b7. 6 RI

c. cati dintre RI au 2 sisteme de echilibrare statica

c1. 0 RI

c2. 1 RI

c3. 2 RI

c4. 3 RI

c5. 4 RI

c6 5 RI

c7. 6 RI

0%
0%
100%
0%
100%
0%
0%
0%
0%
0%
0%
0%
0%
0%
0%
0%
0%
0%
0%
0%
100%
View this question

Pentru RI prezentati in imaginile de mai jos

1. Care 2 RI dintre toti cei prezentati in imaginile de mai jos au sarcina portanta cea mai mare

Aa1. RI din stanga

Aa2. RI din dreapta 

Ba1. RI din stanga

Ba2. RI din dreapta

Ca1. RI din stanga

Ca2. RI din dreapta

Da1. RI din stanga

Da2. RI din dreapta

2 Cati dintre toti RI au un sistem de echilibrare a segmentului 1 al bratului articulat cu resorturi

b1. 0 RI

b2. 1 RI

b3. 2 RI

b4. 3 RI

b5. 4 RI

b6. 5RI

b7. 6RI  

3 Care dintre cei 2 RI prezentati in perechi in fig A, B, C, D are sarcina portanta cea mai mare

Aa1. RI din stanga

Aa2. RI din dreapta 

Ba1. RI din stanga

Ba2. RI din dreapta

Ca1. RI din stanga

Ca2. RI din dreapta

Da1. RI din stanga

Da2. RI din dreapta

A

B

C

D

100%
0%
0%
100%
0%
0%
0%
0%
100%
0%
0%
100%
0%
100%
0%
0%
0%
0%
100%
0%
0%
100%
View this question

Dintre modelele de RI de mai jos indicati:

a. care sunt cele corespunzatoare unor RI cu capabilitate de montare si operare "shelf mounted" (care au posibilitatea pozitionarii TCP mult sub nivelul suprafetei de asezare a bazei RI)

b. ce tip de sub-sistem prezent in constructia RI permite identificarea unui RI cu astfel de capabilitati.

b1. existenta unui segment 2 al BA mai lung decat la alti RI

b2. existenta unui sistem de echilibrare statica cu contragreutate

b3. existenta unui sistem de echilibrare statica cu arcuri cu dimensiuni mai mari decat la alti RI

b4. asocierea a doua sisteme de echilibrare statica, unul pentru segmentul 1 si celalalt pentru segmentul 2 al RI 

b5. existenta unei structuri cinematice de ansamblu de tip l.c. deschis

b6. existenta unei structuri cinematice de ansamblu de tip l.c. inchis

b7. existenta unei constructii particulare a cuplei 1 a RI

b8. existenta unei constructii particulare a cuplei 2 a RI

b9. existenta unei constructii particulare a cuplei 3 a RI

1.  

2. 

3.

4.  5. 

6. 

7. 8. 

9. 

100%
0%
0%
0%
0%
0%
0%
100%
0%
0%
0%
0%
100%
100%
100%
0%
0%
0%
View this question

Want instant access to all verified answers on curs.upb.ro?

Get Unlimited Answers To Exam Questions - Install Crowdly Extension Now!

Browser

Add to Chrome