logo

Crowdly

Browser

Add to Chrome

06-IIR-L-A3-S1: Concepţia şi exploatarea roboţilor industriali 1 (Seria BD - 2025)

Looking for 06-IIR-L-A3-S1: Concepţia şi exploatarea roboţilor industriali 1 (Seria BD - 2025) test answers and solutions? Browse our comprehensive collection of verified answers for 06-IIR-L-A3-S1: Concepţia şi exploatarea roboţilor industriali 1 (Seria BD - 2025) at curs.upb.ro.

Get instant access to accurate answers and detailed explanations for your course questions. Our community-driven platform helps students succeed!

Pentru modelele de RI aflate actual pe piata, care este raza maxima de actiune a unui RI de tip SCARA cu structura cinematica de ansamblu de tip:

b. R1T2R3 - pentru aplicatii de paletizare

1 - 1000 mm

2 - 1500 mm

3 - 2000 mm

4 - 2500 mm

5 - 3000 mm

6 - 3500 mm

7 - 4000 mm

8 - 4500 mm

0%
0%
0%
0%
0%
0%
0%
0%
View this question

Pentru structura cinematica de RI de tip SCARA din figura de mai jos precizati:

8. Care este elementul fix din primul reductor armonic (din dreapta)

a. arborele de antrenare

b. deformatorul

c. elementul elastic

d. coroana dintata

e. rulmentul elastic

f. sistemul de lagaruire a elementului mobil

9. Care este elementul de iesire din primul reductor armonic (din dreapta)

a. arborele de antrenare

b. deformatorul

c. elementul elastic

d. coroana dintata

e. rulmentul elastic

f. sistemul de lagaruire a elementului mobil

10. Care este elementul fix din cel de al doilea reductor armonic (din stanga)

a. arborele de antrenare

b. deformatorul

c. elementul elastic

d. coroana dintata

e. rulmentul elastic

f. sistemul de lagaruire a elementului mobil

11. Care este elementul de iesire din cel de al doilea reductor armonic (din stanga)

a. arborele de antrenare

b. deformatorul

c. elementul elastic

d. coroana dintata

e. rulmentul elastic

f. sistemul de lagaruire a elementului mobil

0%
0%
0%
0%
0%
0%
0%
0%
0%
0%
0%
0%
0%
0%
0%
0%
0%
0%
0%
0%
0%
0%
0%
0%
View this question

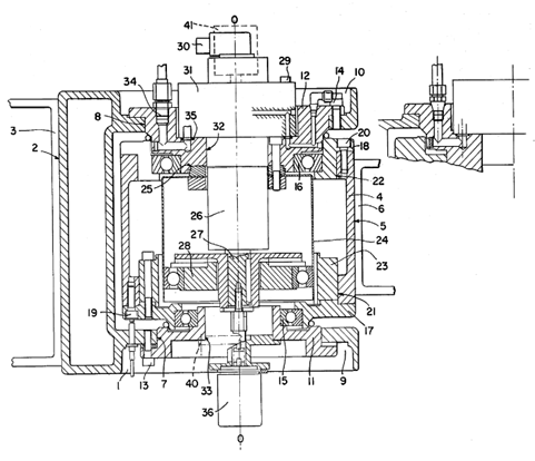
Pentru solutia tehnica de realizare a cuplei unui RI de tip SCARA din figura de mai jos precizati:

a. De ce tip este reductorul integrat in ACN a RI:

a1: planetar

a2: cicloidal

a3: armonic

a4: diferential

b. Ce componente organologice include sistemul de lagaruire a elementului mobil:

b1 un rulment radial cu bile

b2 un rulment radial-axial cu bile cu contact in 4 puncte

b3 doi rulmenti radiali cu bile

b4 doi rulmenti radiali-axiali cu cu bile cu contact in 4 puncte

c. Ce numar are elementul structural al RI care reprezinta partea fixa a cuplei de rotatie prezentate in figura

c1: 5

c2: 28

c3: 16

c4: 2

c5: 21

d Ce numar are elementul structural al RI care reprezinta partea mobila (antrenata in miscare de rotatie) a cuplei de rotatie prezentate in figura

d1: 5

d2: 28

d3: 16

d4: 2

d5: 32

e. Ce element al reductorului integrat in cupla prezentata este solidar cu partea fixa a cuplei

e1: 24

e2: 28

e3: 23

f. Ce element al reductorului integrat in cupla prezentata este solidar cu partea mobila a cuplei

f1: 24

f2: 28

f3: 23

0%
0%
0%
0%
0%
0%
0%
0%
0%
0%
0%
0%
0%
0%
0%
0%
0%
0%
0%
0%
0%
0%
0%
0%
View this question

Pentru modelele de RI aflate actual pe piata, care este sarcina portanta maxima a unui RI de tip SCARA cu structura cinematica de ansamblu de tip:

a. R1R2T3 - pentru aplicatii de asamblare montaj

b. R1T2R3 - pentru aplicatii de paletizare

c. T1R2R3 - pentru aplicatii de manipulat wafere

1 - 0.5 kg

2 - 1 kg

3 - 3 kg

4 - 5 kg

5 - 10 kg

6 - 15 kg

7 - 20 kg

8 - 50 kg

9 - 80 kg

10 - 100 kg

11 - 120 kg

12 - 150 kg

13 - 180 kg

14 - 200kg

15 - 250 kg

33%
33%
33%
0%
0%
33%
0%
33%
0%
0%
0%
0%
0%
0%
33%
0%
33%
0%
33%
0%
0%
33%
0%
67%
View this question

Want instant access to all verified answers on curs.upb.ro?

Get Unlimited Answers To Exam Questions - Install Crowdly Extension Now!

Browser

Add to Chrome