logo

Crowdly

Browser

Add to Chrome

06-IIR-L-A3-S1: Concepţia şi exploatarea roboţilor industriali 1 (Seria BD - 2025)

Looking for 06-IIR-L-A3-S1: Concepţia şi exploatarea roboţilor industriali 1 (Seria BD - 2025) test answers and solutions? Browse our comprehensive collection of verified answers for 06-IIR-L-A3-S1: Concepţia şi exploatarea roboţilor industriali 1 (Seria BD - 2025) at curs.upb.ro.

Get instant access to accurate answers and detailed explanations for your course questions. Our community-driven platform helps students succeed!

Cu referire la RI SCARA integrat in aplicatia de paleteizare prezentata in figura de mai jos:

1. dintre schemele cinematice prezentate in figurile numerotate a, b, c, d, e, pentru RI integrat in aplicatia din fig 1, selectati  care este schema structurala corespunzatoare variantei constructive de RI respective

2. dintre RI prezentati in figurile numerotate f, g, h, i, j, selectati variantele de RI cu structura cinematica de ansamblu si constructie similara 

Fig. 1

a b 

 d 

 g 

 i 

 

 

0%
0%
0%
0%
100%
100%
100%
0%
0%
100%
View this question

Referitor la conceptul sistemic unitar de RI integrat in mediul tehnologic, ilustrat in figura de mai jos, precizati:

1. care dintre urmatoarele elemente fac parte din categoriile:

a: echiparea tehnologica a RI

b: echipamente de proces tehnologic

0%
0%
0%
0%
0%
0%
0%
0%
0%
0%
0%
0%
0%
0%
0%
0%
0%
0%
0%
0%
0%
0%
0%
0%
0%
0%
View this question

Cu referire la conceptul sistemic unitar de "RI intergrat in mediul tehnologic" si avand in vederede numerele de ordine cu care sunt marcate unele dintre elementele componente ale unei celule de sudare robotizata cu arc electric din figurile de mai jos (in ambele figuri pentru acelasi component numerotarea fiind identica) , precizati:

a. Care dintre elementele componente numerotate ale celulei fac parte din "echiparea tehnologica a RI"

a1: 1

a2: 2

a3: 3 

a4: 4

a5: 5

a6: 6

a7: 7

a8: 8

a9: 9

a10: 10

b. Care dintre elementele componente numerotate ale celulei fac parte din "echipamente de proces tehnologic"

b1: 1

b2: 2

b3: 3 

b4: 4

b5: 5

b6: 6

b7: 7

b8: 8

b9: 9

b10: 10

0%
0%
0%
0%
0%
0%
0%
0%
0%
0%
0%
0%
0%
0%
0%
0%
0%
0%
0%
0%
View this question

Pentru solutia tehnica de realizare a cuplei unui RI de tip SCARA din figura de mai jos precizati:

a. De ce tip este reductorul integrat in ACN a RI:

a1: planetar

a2: cicloidal

a3: armonic

a4: diferential

b. Ce componente organologice include sistemul de lagaruire a elementului mobil:

b1 doi rulmenti radiali cu bile

b2 un rulment radial-axial cu bile cu contact in 4 puncte

b3 doi rulmenti radiali-axiali cu role bile cu contact in 2 puncte montati "in O"

b4 doi rulmenti radiali-axiali cu role bile cu contact in 2 puncte montati "in X"

c. Ce numar are elementul structural al RI care reprezinta partea fixa a cuplei de rotatie prezentate in figura

c1: 20

c2: 8

c3: 3

c4: 14

c5: 18

d Ce numar are elementul structural al RI care reprezinta partea mobila (antrenata in miscare de rotatie) a cuplei de rotatie prezentate in figura

d1: 38

d2: 40

d3: 3

d4: 23

d5: 18

e. Ce element al reductorului integrat in cupla prezentata este solidar cu partea fixa a cuplei

e1: 24

e2: 18

e3: 20

f. Ce element al reductorului integrat in cupla prezentata este solidar cu partea mobila a cuplei

f1: 24

f2: 18

f3: 20

100%
0%
0%
100%
0%
0%
0%
100%
0%
0%
100%
0%
0%
100%
0%
0%
0%
0%
0%
100%
0%
0%
0%
0%
View this question

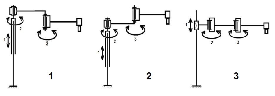
Avand in vedere numerotarea schemelor cinematice si notarea literala a variantelor constructive de RI de mai jos, selectati care este corespondenta corecta intre modelul constructiv de RI si reprezentarea corespunzatoare a schemei sale cinematice structurale.

B

0%
0%
0%
0%
0%
0%
0%
0%
0%
0%
0%
0%
0%
0%
0%
0%
0%
0%
0%
0%
0%
View this question

Pentru solutia tehnica de realizare a cuplei unui RI de tip SCARA din figura de mai jos precizati:

a. De ce tip este reductorul integrat in ACN a RI:

a1: planetar

a2: cicloidal

a3: armonic

a4: diferential

b. Ce componente organologice include sistemul de lagaruire a elementului mobil:

b1 un rulment radial cu bile

b2 un rulment radial-axial cu bile cu contact in 4 puncte

b3 un rulment radial-axial cu role cilindrice cu axele in cruce si un rulment radial cu bile

b4 un rulment radial-axial cu role cilindrice cu axele in cruce

c. Ce numar are elementul structural al RI care reprezinta partea fixa a cuplei de rotatie prezentate in figura

c1: 32

c2: 40

c3: 12

c4: 10

c5: 16

d Ce numar are elementul structural al RI care reprezinta partea mobila (antrenata in miscare de rotatie) a cuplei de rotatie prezentate in figura

d1: 32

d2: 40

d3: 12

d4: 10

d5: 18

e. Ce element al reductorului integrat in cupla prezentata este solidar cu partea fixa a cuplei

e1: 52

e2: 62

e3: 46

f. Ce element al reductorului integrat in cupla prezentata este solidar cu partea mobila a cuplei

f1: 52

f2: 62

f3: 46

0%
0%
0%
0%
0%
0%
0%
0%
0%
0%
0%
0%
0%
0%
0%
0%
0%
0%
0%
0%
0%
0%
0%
0%
View this question

Pentru modelele de RI aflate actual pe piata, care este cursa maxima de deplasare pe verticala a efectorului pentru un RI de tip SCARA cu structura cinematica de ansamblu de tip:

b. R1T2R3 - pentru aplicatii de paletizare

1 - 1000 mm

2 - 1500 mm

3 - 2000 mm

4 - 2500 mm

5 - 3000 mm

6 - 3500 mm

7 - 4000 mm

8 - 4500 mm

0%
50%
0%
50%
0%
0%
0%
0%
View this question

Pentru sistemul tipizat din figura de mai jos precizati:

1. Sistemul reprezinta:

a. un reductor armonic tipizat 

b. o unitate cu reductor armonic tipizat

2. Sistemul poate functiona ca reductor de turatie in varianta: 

(selectati dintre raspunsurile sugerate mai jos doar pe cele care se refera la sensul corect al sagetilor in regimul de functionare ca reductor):

a. intrare - rosu; albastru - fix; iesire - verde

b. intrare - rosu;  verde - fix; iesire - albastru

c. intrare - verde; rosu - fix; iesire - albastru

d. intrare - verde; albastru - fix; iesire rosu

e.  intrare - albastru; rosu - fix; iesire - verde

f. intrare - albastru; verde - fix; iesire - rosu

0%
0%
0%
0%
0%
0%
0%
0%
View this question

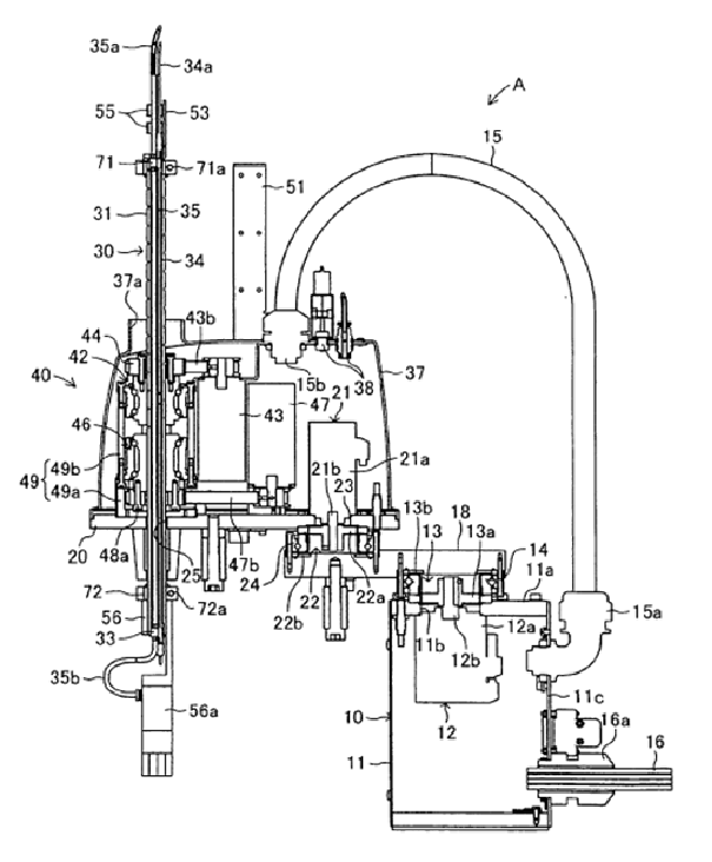
Avand in vedere specificul conceptiei RI de tip SCARA prezentat in figurile de mai jos, specificati:

1. Ce ACN a RI actioneaza :

a. motorul 12

b: motorul 21

c: motorul 43

d: motorul 47

2. In ce axa comandata numeric a RI se integreaza:

a: reductorul 13

b: reductorul 22

c: cureaua dintata 43b

d: cureaua dintata 47b

3. De ce tip este reductorul integrat in ACN 2 a RI:

a: planetar

b: cicloidal

c: armonic

d: diferential

100%
0%
0%
0%
0%
0%
0%
0%
0%
0%
0%
0%
100%
0%
0%
100%
0%
0%
0%
0%
0%
100%
0%
0%
0%
0%
0%
0%
0%
100%
0%
100%
0%
100%
100%
100%
View this question

Cu referire la RI SCARA integrat in aplicatia de paleteizare prezentata in figura de mai jos:

1. dintre schemele cinematice prezentate in figurile numerotate a, b, c, d, e, pentru RI integrat in aplicatia din fig 1, selectati  care este schema structurala corespunzatoare variantei constructive de RI respective

2. dintre RI prezentati in figurile numerotate f, g, h, i, j, selectati variantele de RI cu structura cinematica de ansamblu si constructie similara 

Fig. 1

a b 

 d 

 g 

 i 

 

 

0%
0%
0%
0%
100%
100%
100%
0%
0%
100%
View this question

Want instant access to all verified answers on curs.upb.ro?

Get Unlimited Answers To Exam Questions - Install Crowdly Extension Now!

Browser

Add to Chrome