Looking for 06-IIR-L-A3-S1: Concepţia şi exploatarea roboţilor industriali 1 (Seria BD - 2025) test answers and solutions? Browse our comprehensive collection of verified answers for 06-IIR-L-A3-S1: Concepţia şi exploatarea roboţilor industriali 1 (Seria BD - 2025) at curs.upb.ro.
Get instant access to accurate answers and detailed explanations for your course questions. Our community-driven platform helps students succeed!
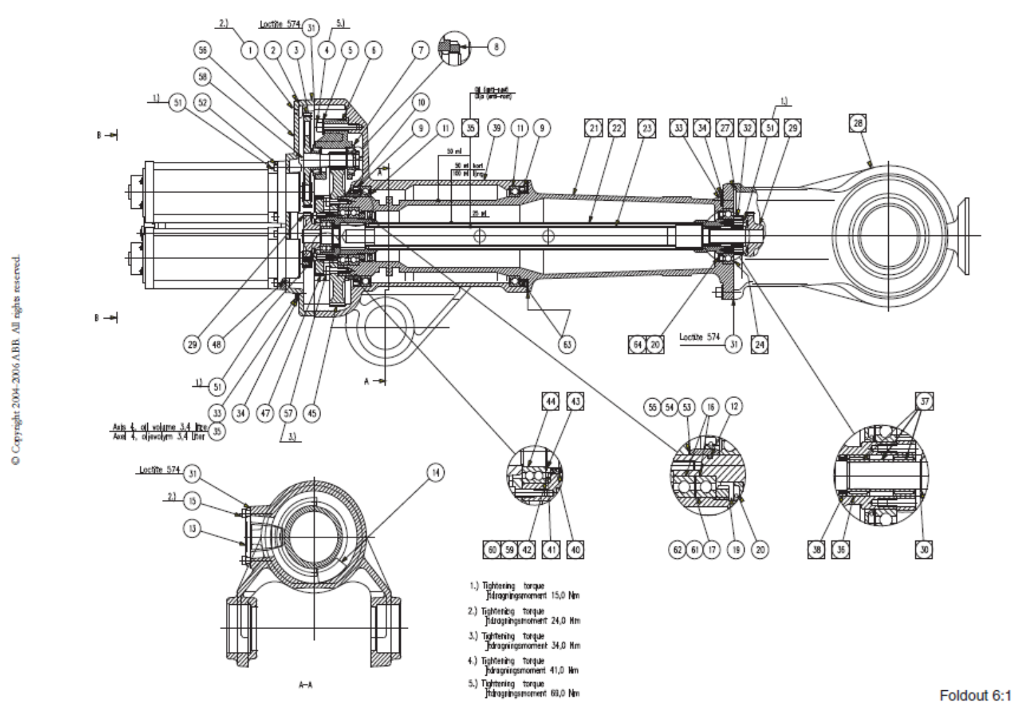
Cu referire la numerele de ordine inscrise in figura de mai jos precizati:
a. care sunt elementele organologice prin care se face antrenarea elementelor de iesire din ACN 5 si respectiv ACN 6
a1 5 pentru ACN 5
a2 5 pentru ACN 6
a3 12 pentru ACN 5
a4 12 pentru ACN 6
b. Care sunt rulmentii prin care este lagaruit elementul de executie care realizeaza miscarea de tip "pitch"
b1 - 1
b2 - 2
b3 - 3
b4 - 4
b5 - 6
b6 - 7
b7 - 8
b8 - 9
b9 - 10
b10 - 11
c. Care sunt rulmentii prin care este lagaruit elementul de executie care realizeaza miscarea de tip "roll"c1 - 1
c2 - 2
c3 - 3
c4 - 4
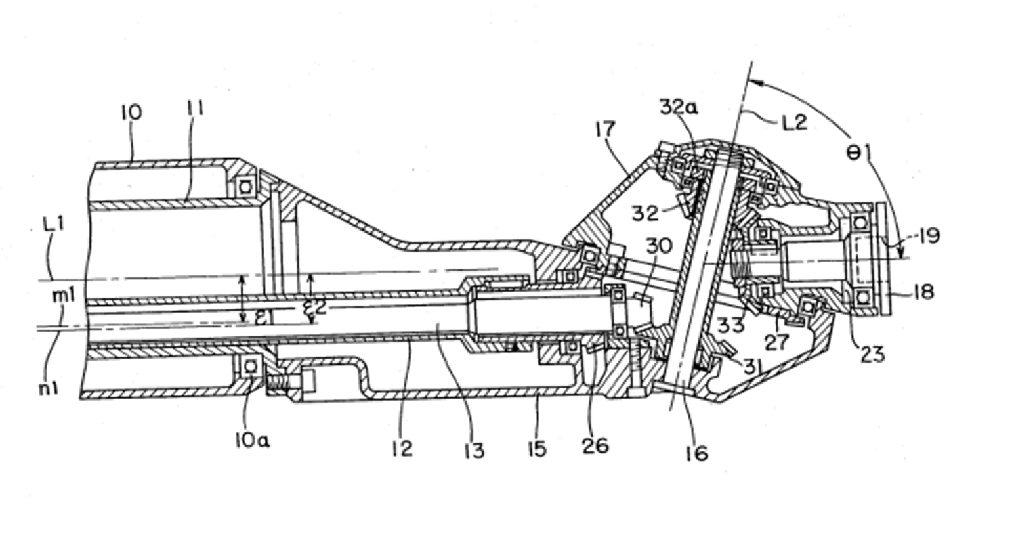
Cu referire la numerele de ordine scrise cu font marit (neincercuite) in figura de mai jos precizati:
a. Ce numar corespunde motorului 1 din figura din stanga jos, in reprezentarea 3D a RI din dreapta
a1 - 5
a2 - 6
b. Ce numar corespunde motorului 2 din figura din stanga jos, in reprezentarea 3D a RI din dreapta
b1 - 5
b2 - 6
c. Ce element este actionat de componentul numerotat cu 4 din figura din stanga jos
c1 sistemul de echilibrare statica a segmentului 1 al BA al RI
c2 sistemul de echilibrare statica a segmentului 2 al BA al RI
c3 segmentul 1 al BA al RI
c4 segmentul 2 al BA al RI
d. Ce element este actionat de componentul numerotat cu 3 din figura din stanga jos
d1 sistemul de echilibrare statica a segmentului 1 al BA al RI
d2 sistemul de echilibrare statica a segmentului 2 al BA al RI
d3 segmentul 1 al BA al RI
d4 segmentul 2 al BA al RI
e. Ce reprezinta elementul 6 notat in reprezentarea 3D a RI
e1 un reductor cicloidal cu antrenare centrala
e2 un reductor cicloidal cu arbore hollow shaft si antrenare excentrica
e3 un reductor planetar cu antrenare excentrica
e4 un reductor cu transmisii prin roti dintate cilindrice
f. Ce axe CN sunt actionate de catre motoarele plasate in locatia numerotata cu 7 din reprezentarea 3D a RI din dreapta
f1 ACN 3
f2 ACN 4
f3 ACN 5
f4 ACN 6
In figura de mai jos este prezentata o sectiune partiala prin sistemul de orientare al unui RI ABB care are in constructia sa o unitate de sistem de orientare realizata in constructie modulara (cu o aceeasi structura interna la mai multe variante de RI. Avand in vedere structura interna a unui astfel de unitati de sistem de orientare, din cadrul sectiunii partiale din figura (in care nu apar detaliile de structura interna pentru o astfel de unitate) precizati:
a. Care este numarul ultimului component component mecanic din cadrul structurii lantului cinematic aferent axei 4 CN a RI, reprezentat in cadrul sectiunii partiale?
b. Care este numarul celui de al doilea component mecanic din cadrul structurii lantului cinematic aferent axei 4 CN a RI, reprezentat in cadrul sectiunii partiale?
c. Care este numarul penultimului component component mecanic din cadrul structurii lantului cinematic aferent axei 5 CN a RI, reprezentat in cadrul sectiunii partiale?
d. Care este numarul celui de al doilea component mecanic din cadrul structurii lantului cinematic aferent axei 5 CN a RI, reprezentat in cadrul sectiunii partiale?
e. Care este numarul ultimului component component mecanic din cadrul structurii lantului cinematic aferent axei 6 CN a RI, reprezentat in cadrul sectiunii partiale?
f. Care este numarul primului component mecanic din cadrul structurii lantului cinematic aferent axei 6 CN a RI, reprezentat in cadrul sectiunii partiale?
Cu referire la solutia tehnica de sistem de orientare prezentata in cele doua figuri de mai jos precizati:
a. care este numarul de ordine al motorului de actionare pentru axa 4 CN a RI
a1. - 50
a2. - 51
a3. - 52
b. care este numarul de ordine al motorului de actionare pentru axa 5 CN a RI
b1. - 50
b2. - 51
b3. - 52
c. care este numarul de ordine al motorului de actionare pentru axa 6 CN a RI
c1. - 50
c2. - 51
c3. - 52
d. care este numarul de ordine al elementului mobil final actionat din axa 4 CN
d1. - 11
d2. - 15
d3. - 26
e. care este numarul de ordine al elementului mobil final actionat din axa 5 CN
e1. - 16
e2. - 17
e3. - 32
f. care este numarul de ordine al elementului mobil final actionat din axa 6 CN
f1. - 33
f2. - 23
f3. - 18
g. care este perechea de numere de ordine pentru elementele primului angrenaj cilindric din structura axei 4 CN
g1. - 75/73
g2. - 60/58
g3. - 69/67
h. in ce ACN sunt incluse angrenajele
h1. - 72/74 - axa 4
h1. - 72/74 - axa 5
h1. - 72/74 - axa 6
h2. - 66/68 - axa 4
h2. - 66/68 - axa 5
h2. - 66/68 - axa 6
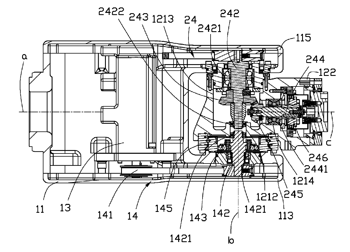
h3. - 57/59 - axa 4h3. - 57/59 - axa 5h3. - 57/59 - axa 6h4. - 30/31 - axa 4h4. - 30/31 - axa 5h4. - 30/31 - axa 6h5. - 26/27 - axa 4h5. - 26/27 - axa 5h5. - 26/27 - axa 6Utilizand notatiile din figura de mai jos precizati:
a Care este numarul componentului care permite antrenarea elementului mobil din axa 5
a1 - 242
a2 - 142
b Care este numarul componentului care permite antrenarea elementului mobil din axa 6
b1 - 242
b2 - 142
c In care dintre axa 5 si axa 6 sunt incluse:
c1 - "unitati" cu reductoare armonice (care integreaza tot ce este necesar atat pentru antrenarea cat si pentru lagaruirea elementului mobil actionat)
c11 - axa 5
c12 - axa 6
c2 - solutii "custom made" (care permit separat antrenarea si respectiv lagaruirea elementului mobil actionat prin componente integrate separat)
c21 - axa 5
c22 - axa 6
d. De care parte a cuplei este fixata coroana dintata interioara a reductoarului armonic din axa 6 CNd1 de partea mobila a cuplei in axa 6 CNd2 de partea fixa a cuplei in axa 6 CNe. Ce numere de ordine au rulmentii care permit lagaruirea piesei care executa miscarea "pitch"e1 - 2421e2 - 2422e3 - 145e4 - 1421Cu referire la RI model Kawasaki FS 10E prezentat in figura de mai jos precizati:
a Pentru care ACN din structura SP al RI nu se respecta principiile constructive de baza aplicabile (pentru modul de amplasare a motoarelor de actionare si partii fixe a reductoarelor), aplicate la RI cu structura cinematica de tip lant cinematic deschis (cu segmente dispuse excentric).
a1 - axa CN 1
a2 - axa CN 2
a3 - axa CN 3
b. Care dintre motoarele de actionare din structura SP al RI este amplasat pe partea fixa a cuplei actionate
b1 - axa CN 1
b2 - axa CN 2
b3 - axa CN 3
c. Care dintre motoarele de actionare din structura SP al RI este amplasat pe partea mobila a cuplei actionate
c1 - axa CN 1
c2 - axa CN 2
c3 - axa CN 3
d. In ce ACN din cadrul SP al RI sunt incluse reductoare cicloidale hollow-shaft
d1 - axa CN 1
d2 - axa CN 2
d3 - axa CN 3
e. In ce ACN sunt incluse reductoare cicloidale cu antrenare centrala
e1 - axa CN 1
e2 - axa CN 2
e3 - axa CN 3
f. Ce tip de reductoare sunt incluse in ACN din cadrul SO al RIf1 - reductoare cicloidalef2 - planetaref3 - reductoare armoniceg. In ce ACN din cadrul SO al RI sunt incluse reductoare hollow-shaft
g1 - axa CN 4
g2 - axa CN 5
g3 - axa CN 6
Cu referire la RI de tip "shelf mounted" (cu posibilitate de operare mult sub nivelul bazei RI precizati:
a. cati dintre RI prezentati in imaginile de mai jos sunt din categoria "shelf mounted"
a1: 5
a2: 6
a3: 7
a4: 8
a5: 9
a6: 10
b. cati dintre RI shelf mounted din figurile de mai jos au 1 singur sistem de echilibrare statica
b1. 1
b2. 2
b3. 3
b4. 4
b5. 5
b6. 6
c. cati dintre RI shelf mounted din figurile de mai jos au 2 sisteme de echilibrare statica
c0. 0
c1. 1
c2. 2
c3. 3
c4. 4
c5. 5
d. cati dintre RI shelf mounted din figurile de mai jos au 3 sisteme de echilibrare statica
d0. 0
d1. 1
d2. 2
d3. 3
d4. 4
e. care dintre afirmatiile de mai jos sunt FALSE:
e1. RI shelf mounted au o constructie particulara a cuplei 1
e2. RI shelf mounted au o constructie particulara a cuplei 2
e3. RI shelf mounted au o constructie particulara a cuplei 3
e4. RI shelf mounted au obligatoriu structura de tip lant cinematic deschis
e5. RI shelf mounted au obligatoriu structura de tip lant cinematic inchis
e6. RI shelf mounted pot avea structura de tip lant cinematic deschis sau inchis
e7. RI shelf mounted au un sistem de constructie speciala pentru echilibrarea statica a segmentului 1 al bratului articulat
e8. RI shelf mounted au un sistem de constructie speciala pentru echilibrarea statica a segmentului 2 al bratului articulate9. RI shelf mounted au au sisteme pentru echilibrarea statica atat a segmentului 1 cat si a segmentului 2 al bratului articulat1. Care este motivatia tehnica pentru care, se recomanda ca intr-o varianta de conceptie optimala, RI trebuie sa li se amplaseze reductoarele armonice / cicloidale asociate direct elementelor de iesire din ACN ale RI (cuplate direct cu elementele finale actionate).
a. se scade turatia doar la nivelul elementului mobil actionat
b. se creste cuplul furnizat de motor doar la nivelul elementului mobil actionat
c. se creste precizia de pozitionare a elementului mobil actionat
d: se elimina jocurile functionale din transmisiile intermediare clasice inlocuite de astfel de reductoare
e. se evita supradimensionarea elementelor componente din structura l.c. de actionare a elementului respectiv
3. Ce tip de reductoare se utilizeaza frecvent in constructia ACN 1, 2 si 3 ale RI de tip brat articulat fabricati in Japonia.
a: reductoare planetare
b: reductoare cicloidale
c. reductoare melcate
d: reductoare cu angrenaje conice hipoide
e: reductoare armonice
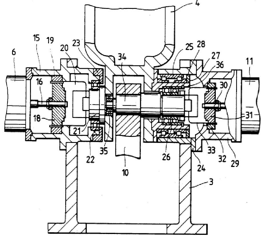
4. Ce tip de reductoare se utilizeaza frecvent in constructia ACN 4, 5 si 6 ale RI de tip brat articulat fabricati in Japonia. a: reductoare planetare b: reductoare cicloidale c: reductoare melcated: reductoare cu angrenaje conice hipoidee: reductoare armoniceCu referire la numerele de ordine inscrise in figura de mai jos precizati:
a. Care este numarul motorului de actionare a ACN 1
a1 - 6
a2 -11
b. Care este numarul motorului de actionare a ACN 2
b1 - 6
b2 - 11
c. Care este numarul motorului de actionare a ACN 3
c1 - 6
c2 - 11
d. Ce tip de reductoare se utilizeaza in ACN 1, ACN 2 si ACN 3
d1. reductoare planetare
d2 reductoare cicloidale
d3 reductoare melcate
d4 reductoare armonice
e. Ce motor actioneaza elementul mobil notat cu numarul 4 in desen
e1 motorul 6
e2 motorul 11
f. Ce element al RI este actionat de motorul 6
f1 segmentul 1 al BA al RI
f2 segmentul 2 al BA al RI
g. Ce element al RI este actionat de motorul 11
g1 segmentul 1 al BA al RI
g2 segmentul 2 al BA al RI
h. Ce reprezinta elementul notat cu numarul 10 din desen
h1 un element de legatura cu sistemul de echilibrare statica a segmentului 1 al BA al RI
h2 o transmisie prin curea dintata
h3 un element de legatura cu sistemul de de actionare a segmentului 1 al BA al RI
h4 un element de legatura cu sistemul de actionare a segmentului 2 al BA al RI