logo

Crowdly

Browser

Add to Chrome

06-IIR-L-A3-S1: Concepţia şi exploatarea roboţilor industriali 1 (Seria BB - 2025)

Looking for 06-IIR-L-A3-S1: Concepţia şi exploatarea roboţilor industriali 1 (Seria BB - 2025) test answers and solutions? Browse our comprehensive collection of verified answers for 06-IIR-L-A3-S1: Concepţia şi exploatarea roboţilor industriali 1 (Seria BB - 2025) at curs.upb.ro.

Get instant access to accurate answers and detailed explanations for your course questions. Our community-driven platform helps students succeed!

In figura de mai jos este prezentata o sectiune partiala prin sistemul de orientare al unui RI ABB care are in constructia sa o unitate de sistem de orientare realizata in constructie modulara (cu o aceeasi structura interna la mai multe variante de RI. Avand in vedere structura interna a unui astfel de unitati de sistem de orientare, din cadrul sectiunii partiale din figura (in care nu apar detaliile de structura interna pentru o astfel de unitate) precizati:

a. Care  este numarul ultimului component component mecanic din cadrul structurii lantului cinematic aferent axei 4 CN a RI, reprezentat in cadrul sectiunii partiale?

b. Care este numarul celui de al doilea component mecanic din cadrul structurii lantului cinematic aferent axei 4 CN a RI, reprezentat in cadrul sectiunii partiale?

c. Care  este numarul penultimului component component mecanic din cadrul structurii lantului cinematic aferent axei 5 CN a RI, reprezentat in cadrul sectiunii partiale?

d. Care este numarul celui de al doilea component mecanic din cadrul structurii lantului cinematic aferent axei 5 CN a RI, reprezentat in cadrul sectiunii partiale?

e. Care  este numarul ultimului component component mecanic din cadrul structurii lantului cinematic aferent axei 6 CN a RI, reprezentat in cadrul sectiunii partiale?

f. Care este numarul primului component mecanic din cadrul structurii lantului cinematic aferent axei 6 CN a RI, reprezentat in cadrul sectiunii partiale?

0%
0%
0%
0%
0%
0%
100%
0%
0%
100%
100%
100%
100%
0%
0%
0%
0%
100%
View this question

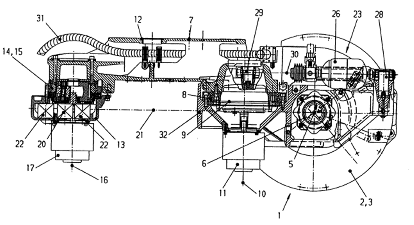
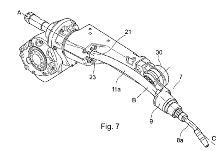
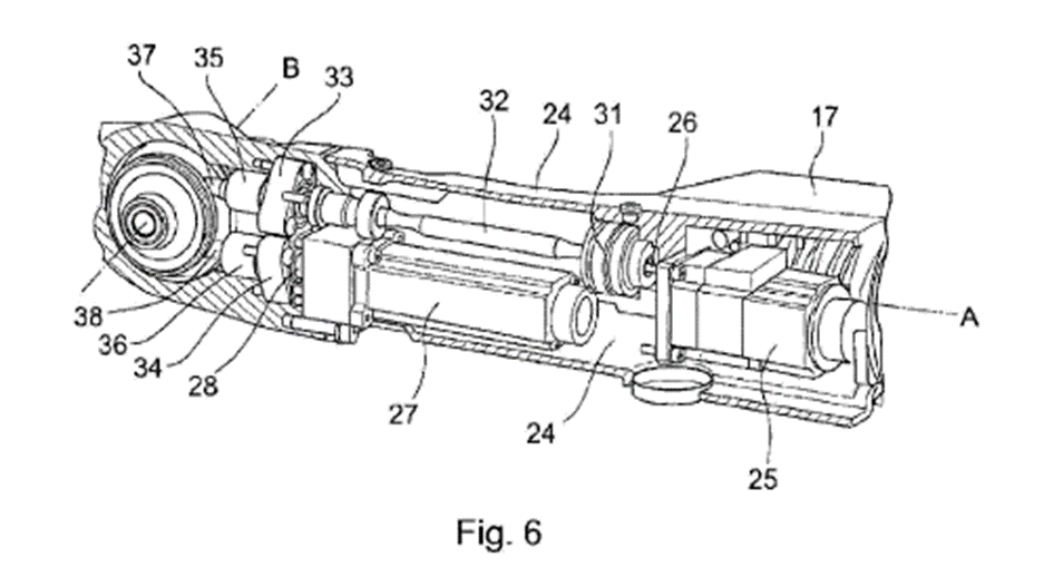
Pentru RI brat articulat dedicat realizarii operatiilor de sudare cu arc electric prezentat in figurile de mai jos precizati:

a. In fig. 7, care este elementul mobil antrenat de axa 4 CN a RI?

b. In fig. 7, care este elementul mobil antrenat de axa 5 CN a RI?

c. In fig. 7, care este elementul mobil antrenat de axa 6 CN a RI?

d. In fig 6, care dintre elementele 28, 33, 34, 35, 36 casetele lagar pentru arborii pinion din angrenajele hipoide incluse in ACN ale RI?

e. Care dintre cele doua roti conice conduse 46, 54 apare in reprezentarea grafica 2D de tip sectiune din dreapta imaginii de tip perspectiva a unitatii de sistem de orientare? (Indicatie: pentru identificarea raspunsului corect, in formularea acestuia corelati imaginea din sectiunea indicata cu cea din sectiunea complementara prezentata in figura 10)

f. Care dintre rotile dintate conice 46 si 54 este inclusa in structura lantului cinematic aferent axei 5 CN?

g. Care dintre rotile dintate conice 46 si 54 este inclusa in structura lantului cinematic aferent axei 6 CN?

100%
0%
0%
0%
0%
0%
0%
0%
100%
0%
100%
0%
0%
0%
100%
0%
100%
100%
100%
100%
View this question

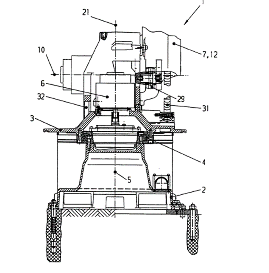
Cu referire la numerele de ordine scrise cu font marit (neincercuite) in figura de mai jos precizati:

a. Ce numar corespunde motorului 1 din figura din stanga jos, in reprezentarea 3D a RI din dreapta

a1 - 5

a2 - 6

b. Ce numar corespunde motorului 2 din figura din stanga jos, in reprezentarea 3D a RI din dreapta

b1 - 5

b2 - 6

c. Ce element este actionat de componentul numerotat cu 4 din figura din stanga jos

c1 sistemul de echilibrare statica a segmentului 1 al BA al RI

c2 sistemul de echilibrare statica a segmentului 2 al BA al RI

c3 segmentul 1 al BA al RI

c4 segmentul 2 al BA al RI

d. Ce element este actionat de componentul numerotat cu 3 din figura din stanga jos

d1 sistemul de echilibrare statica a segmentului 1 al BA al RI

d2 sistemul de echilibrare statica a segmentului 2 al BA al RI

d3 segmentul 1 al BA al RI

d4 segmentul 2 al BA al RI

e. Ce reprezinta elementul 6 notat in reprezentarea 3D a RI

e1 un reductor cicloidal cu antrenare centrala

e2 un reductor cicloidal cu arbore hollow shaft si antrenare excentrica

e3 un reductor planetar cu antrenare excentrica

e4 un reductor cu transmisii prin roti dintate cilindrice

f. Ce axe CN sunt actionate de catre motoarele plasate in locatia numerotata cu 7 din reprezentarea 3D a RI din dreapta

f1 ACN 3

f2 ACN 4

f3 ACN 5

f4 ACN 6

0%
100%
100%
0%
0%
0%
100%
0%
100%
0%
0%
100%
0%
0%
100%
0%
0%
100%
0%
0%
View this question

Cu referire la RI model Kawasaki FS 10E prezentat in figura de mai jos precizati:

a Pentru care ACN din structura SP al RI nu se respecta principiile constructive de baza aplicabile (pentru modul de amplasare a motoarelor de actionare si partii fixe a reductoarelor), aplicate la RI cu structura cinematica de tip lant cinematic deschis (cu segmente dispuse excentric).

a1 - axa CN 1 

a2 - axa CN 2

a3 - axa CN 3

b. Care dintre motoarele de actionare din structura SP al RI este amplasat pe partea fixa a cuplei actionate

b1 - axa CN 1 

b2 - axa CN 2

b3 - axa CN 3

c. Care dintre motoarele de actionare din structura SP al RI este amplasat pe partea mobila a cuplei actionate

c1 - axa CN 1 

c2 - axa CN 2

c3 - axa CN 3

d. In ce ACN din cadrul SP al RI sunt incluse reductoare cicloidale hollow-shaft

d1 - axa CN 1 

d2 - axa CN 2

d3 - axa CN 3

e. In ce ACN sunt incluse reductoare cicloidale cu antrenare centrala

e1 - axa CN 1 

e2 - axa CN 2

e3 - axa CN 3

f. Ce tip de reductoare sunt incluse in ACN din cadrul SO al RI

f1 - reductoare cicloidale

f2 - planetare

f3 - reductoare armonice

g. In ce ACN din cadrul SO al RI sunt incluse reductoare hollow-shaft

g1 - axa CN 4 

g2 - axa CN 5

g3 - axa CN 6

0%
0%
100%
100%
0%
100%
100%
100%
0%
100%
0%
0%
0%
0%
100%
0%
0%
0%
0%
0%
100%
View this question

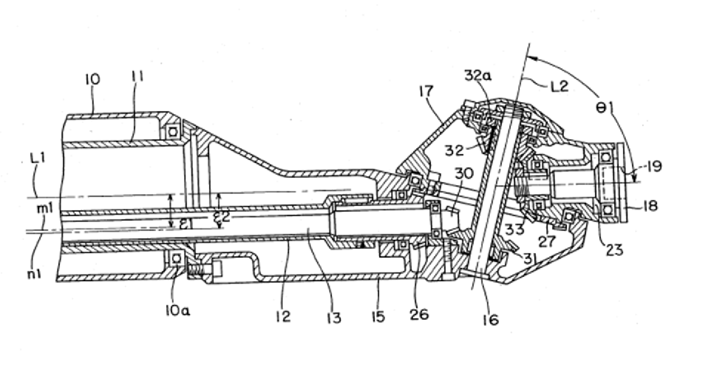
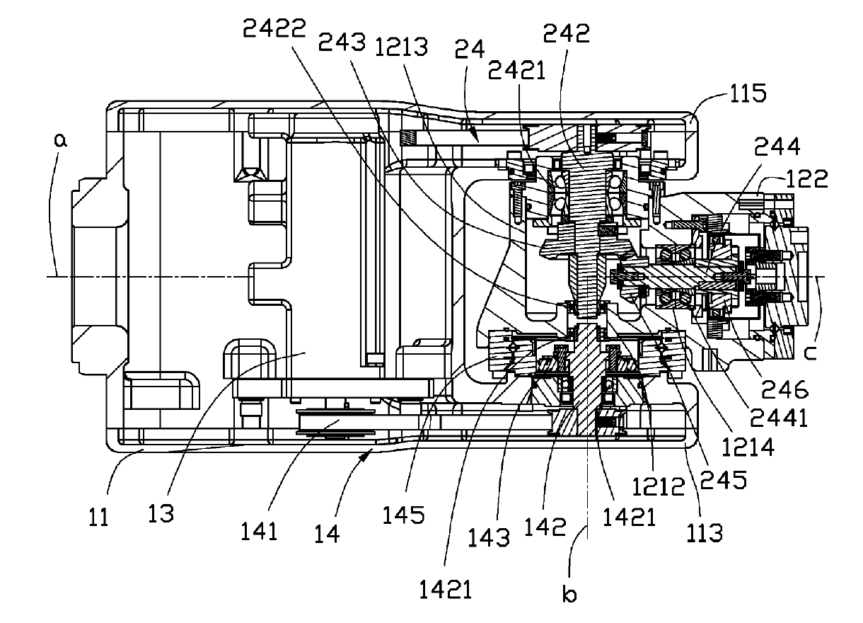
Utilizand notatiile din figura de mai jos precizati:

a Care este numarul componentului care permite antrenarea elementului mobil din axa 5

a1 - 242

a2 - 142

b Care este numarul componentului care permite antrenarea elementului mobil din axa 6

b1 - 242

b2 - 142

c In care dintre axa 5 si axa 6 sunt incluse:

c1 - "unitati" cu reductoare armonice (care integreaza tot ce este necesar atat pentru antrenarea cat si pentru lagaruirea elementului mobil actionat)

c11 - axa 5

c12 - axa 6

c2 - solutii "custom made" (care permit separat antrenarea si respectiv lagaruirea elementului mobil actionat prin componente integrate separat)

c21 - axa 5

c22 - axa 6

d. De care parte a cuplei este fixata coroana dintata interioara a reductoarului armonic din axa 6 CN

d1 de partea mobila a cuplei in axa 6 CN

d2 de partea fixa a cuplei in axa 6 CN

e. Ce numere de ordine au rulmentii care permit lagaruirea piesei care executa miscarea "pitch"

e1 - 2421

e2 - 2422

e3 - 145

e4 - 1421

100%
0%
0%
100%
100%
100%
100%
0%
0%
0%
100%
100%
100%
0%
View this question

Cu referire la numerele de ordine inscrise in figura de mai jos precizati:

a. care sunt elementele organologice prin care se face antrenarea elementelor de iesire din ACN 5 si respectiv ACN 6

a1 5 pentru ACN 5

a2 5 pentru ACN 6

a3 12 pentru ACN 5

a4 12 pentru ACN 6

b. Care sunt rulmentii prin care este lagaruit elementul de executie care realizeaza miscarea de tip "pitch"

b1 - 1

b2 - 2

b3 - 3

b4 - 4

b5 - 6

b6 - 7

b7 - 8

b8 - 9

b9 - 10

b10 - 11

c. Care sunt rulmentii prin care este lagaruit elementul de executie care realizeaza miscarea de tip "roll"

c1 - 1

c2 - 2

c3 - 3

c4 - 4

100%
0%
0%
0%
100%
0%
0%
0%
0%
0%
0%
100%
0%
0%
100%
100%
0%
100%
View this question

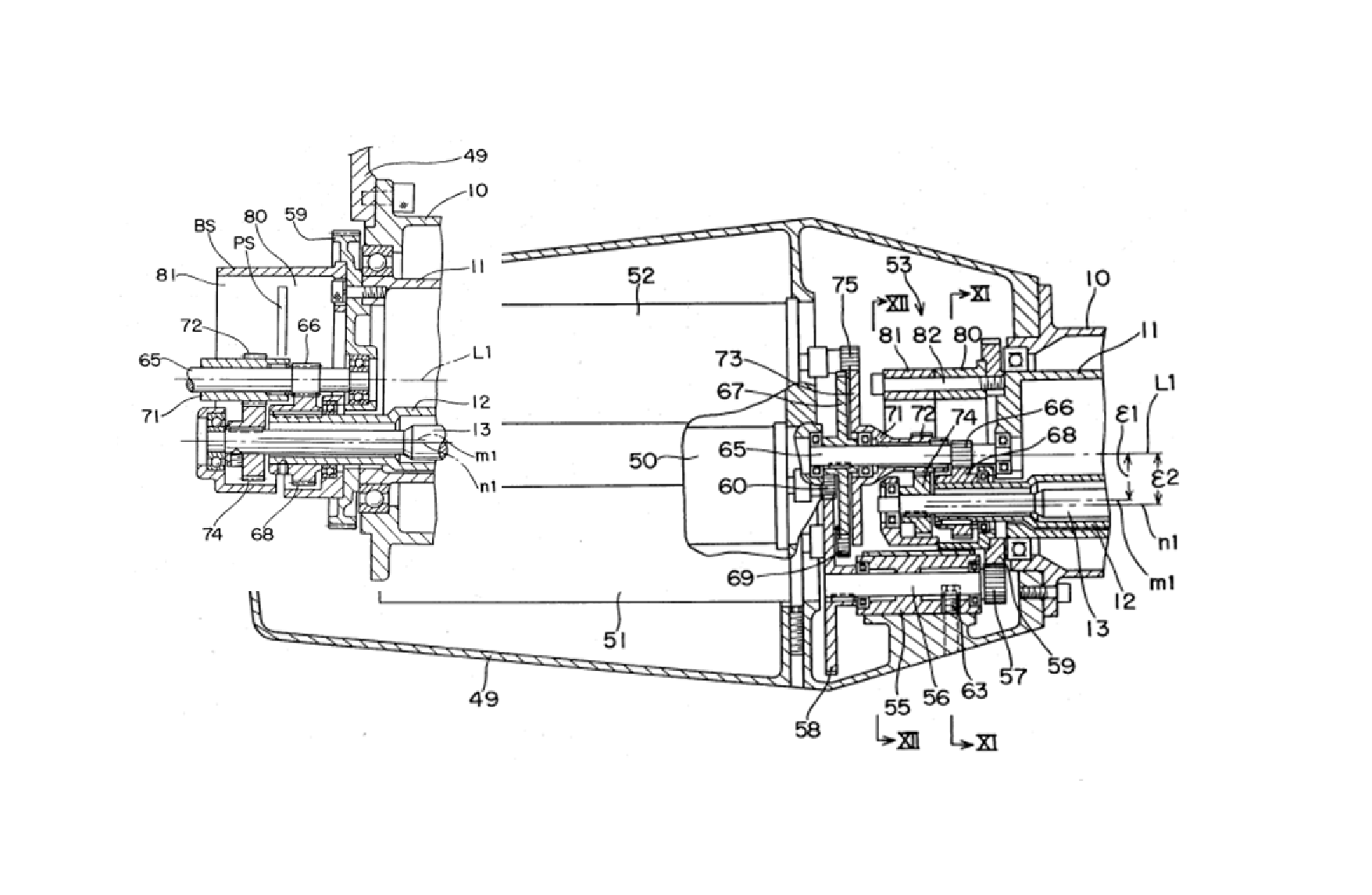
Cu referire la solutia tehnica de sistem de orientare prezentata in cele doua figuri de mai jos precizati:

a. care este numarul de ordine al motorului de actionare pentru axa 4 CN a RI

a1. - 50

a2. - 51 

a3. - 52

b. care este numarul de ordine al motorului de actionare pentru axa 5 CN a RI

b1. - 50

b2. - 51 

b3. - 52

c. care este numarul de ordine al motorului de actionare pentru axa 6 CN a RI

c1. - 50

c2. - 51

c3. - 52

d. care este numarul de ordine al elementului mobil final actionat din axa 4 CN

d1. - 11

d2. - 15

d3. - 26

e. care este numarul de ordine al elementului mobil final actionat din axa 5 CN

e1. - 16

e2. - 17

e3. - 32

f. care este numarul de ordine al elementului mobil final actionat din axa 6 CN

f1. - 33

f2. - 23

f3. - 18

g. care este perechea de numere de ordine pentru elementele primului angrenaj cilindric din structura axei 4 CN

g1. - 75/73 

g2. - 60/58

g3. - 69/67

h. in ce ACN sunt incluse angrenajele

h1. - 72/74 - axa 4

h1. - 72/74 - axa 5

h1. - 72/74 - axa 6

h2. - 66/68 - axa 4

h2. - 66/68 - axa 5

h2. - 66/68 - axa 6

h3. - 57/59 - axa 4

h3. - 57/59 - axa 5

h3. - 57/59 - axa 6

h4. - 30/31 - axa 4

h4. - 30/31 - axa 5

h4. - 30/31 - axa 6

h5. - 26/27 - axa 4

h5. - 26/27 - axa 5

h5. - 26/27 - axa 6

0%
0%
100%
0%
0%
100%
0%
0%
0%
0%
0%
0%
0%
100%
0%
0%
0%
0%
0%
100%
0%
100%
100%
100%
0%
100%
0%
0%
100%
0%
100%
0%
100%
0%
0%
100%
View this question

Cu referire la RI de tip "shelf mounted" (cu posibilitate de operare mult sub nivelul bazei RI precizati:

a. cati dintre RI prezentati in imaginile de mai jos sunt din categoria "shelf mounted"

a1: 5

a2: 6

a3: 7

a4: 8

a5: 9

a6: 10

b. cati dintre RI shelf mounted din figurile de mai jos au 1 singur sistem de echilibrare statica

b1. 1

b2. 2

b3. 3

b4. 4

b5. 5

b6. 6

c. cati dintre RI shelf mounted din figurile de mai jos au 2 sisteme de echilibrare statica

c0. 0

c1. 1

c2. 2

c3. 3

c4. 4

c5. 5

d. cati dintre RI shelf mounted din figurile de mai jos au 3 sisteme de echilibrare statica

d0. 0

d1. 1

d2. 2

d3. 3

d4. 4

e. care dintre afirmatiile de mai jos sunt FALSE:

e1. RI shelf mounted au o constructie particulara a cuplei 1

e2. RI shelf mounted au o constructie particulara a cuplei 2

e3. RI shelf mounted au o constructie particulara a cuplei 3

e4. RI shelf mounted au obligatoriu structura de tip lant cinematic deschis

e5. RI shelf mounted au obligatoriu structura de tip lant cinematic inchis

e6. RI shelf mounted pot avea structura de tip lant cinematic deschis sau inchis

e7. RI shelf mounted au un sistem de constructie speciala pentru echilibrarea statica a segmentului 1 al bratului articulat

e8. RI shelf mounted au un sistem de constructie speciala pentru echilibrarea statica a segmentului 2 al bratului articulat

e9. RI shelf mounted au au sisteme pentru echilibrarea statica atat a segmentului 1 cat si a segmentului 2 al bratului articulat

0%
100%
0%
0%
0%
0%
0%
0%
100%
0%
0%
0%
0%
0%
0%
0%
0%
100%
0%
100%
100%
0%
100%
0%
100%
100%
0%
0%
0%
0%
100%
100%
View this question

Referitor la RI prezentati in figurile de mai jos precizati:

a. cati RI au actionarea segmentului 2 al bratului articulat printr-o structura de tip lant cinematic inchis

a1. 1

a2. 2

a3. 3

a4. 4

a5. 5

a6. 6

b. cati RI au actionarea segmentului 2 al bratului articulat printr-o structura de tip lant cinematic semi-inchis

b1. 1

b2. 2

b3. 3

b4. 4

b5. 5

b6. 6

c. cati RI au actionarea gradului de libertate "pitch" printr-o structura de tip lant cinematic inchis

c1. 1

c2. 2

c3. 3

c4. 4

c5. 5

c6. 6

A

B

C

D

E

F

0%
100%
0%
0%
0%
50%
50%
0%
0%
0%
100%
50%
0%
0%
0%
50%
50%
50%
View this question

Pentru RI KUKA din fig 1 in fig. 2 si fig 3 sunt prezentate structurile interne specifice ACN 1, 2 si 3.

1. Cu referire la numarul de ordine din fata fiecarei figuri si respectiv numerotarea specifica a elementelor componente din structura fiecarei ACN prezentate figurile 2 si 3 selectati care dintre afirmatiile de mai jos sunt corecte:

a. in fig 2, motorul de actionare si carcasa reductorului sunt solidare cu partea fixa a cuplei iar iesirea din reductorul cicloidal este solidara cu platoul rotativ

b. in fig 2, motorul de actionare si carcasa reductorului sunt solidare cu platoul rotativ iar iesirea din reductorul cicloidal este solidara cu partea fixa a cuplei

c. in fig 3, motorul de actionare si carcasa reductorului incluse in ACN 2 sunt solidare cu partea fixa a cuplei iar iesirea din reductorul cicloidal este solidara cu elementul actionat

d. in fig 3, motorul de actionare si carcasa reductorului incluse in ACN 2 sunt solidare cu elementul actionat iar iesirea din reductorul cicloidal este solidara cu partea fixa a cuplei

e. in fig 3, motorul de actionare si carcasa reductorului incluse in ACN 3 sunt solidare cu partea fixa a cuplei iar iesirea din reductorul cicloidal este solidara cu elementul actionat

f. in fig 3, motorul de actionare si carcasa reductorului incluse in ACN 3 sunt solidare cu elementul actionat iar iesirea din reductorul cicloidal este solidara cu partea fixa a cuplei

 

1. 

2. 

3. 

0%
0%
100%
100%
100%
0%
View this question

Want instant access to all verified answers on curs.upb.ro?

Get Unlimited Answers To Exam Questions - Install Crowdly Extension Now!

Browser

Add to Chrome